|
На данной странице представлена ознакомительная часть выбранного Вами патента
Для получения более подробной информации о патенте (полное описание, формула изобретения и т.д.) Вам необходимо сделать заказ. Нажмите на «Корзину»
| ВИНТОВАЯ СВАЯ |  |
Номер публикации патента: 2172373 |  |
| Редакция МПК: | 7 | | Основные коды МПК: | E02D005/56 | | Аналоги изобретения: | SU 727750 A, 25.04.1980. US 2332990 A, 26.10.1943. SU 1188244 A, 30.10.1985. SU 1645368 A1, 30.04.1991. DE 1222864 A, 11.08.1966. DE 2129880 A, 07.08.1975. |
| Имя заявителя: | Кубанский государственный аграрный университет | | Изобретатели: | Сидоренко Л.И. Ляу А.В. Иванов А.Н. Серга Г.В. | | Патентообладатели: | Кубанский государственный аграрный университет |
Реферат |  |
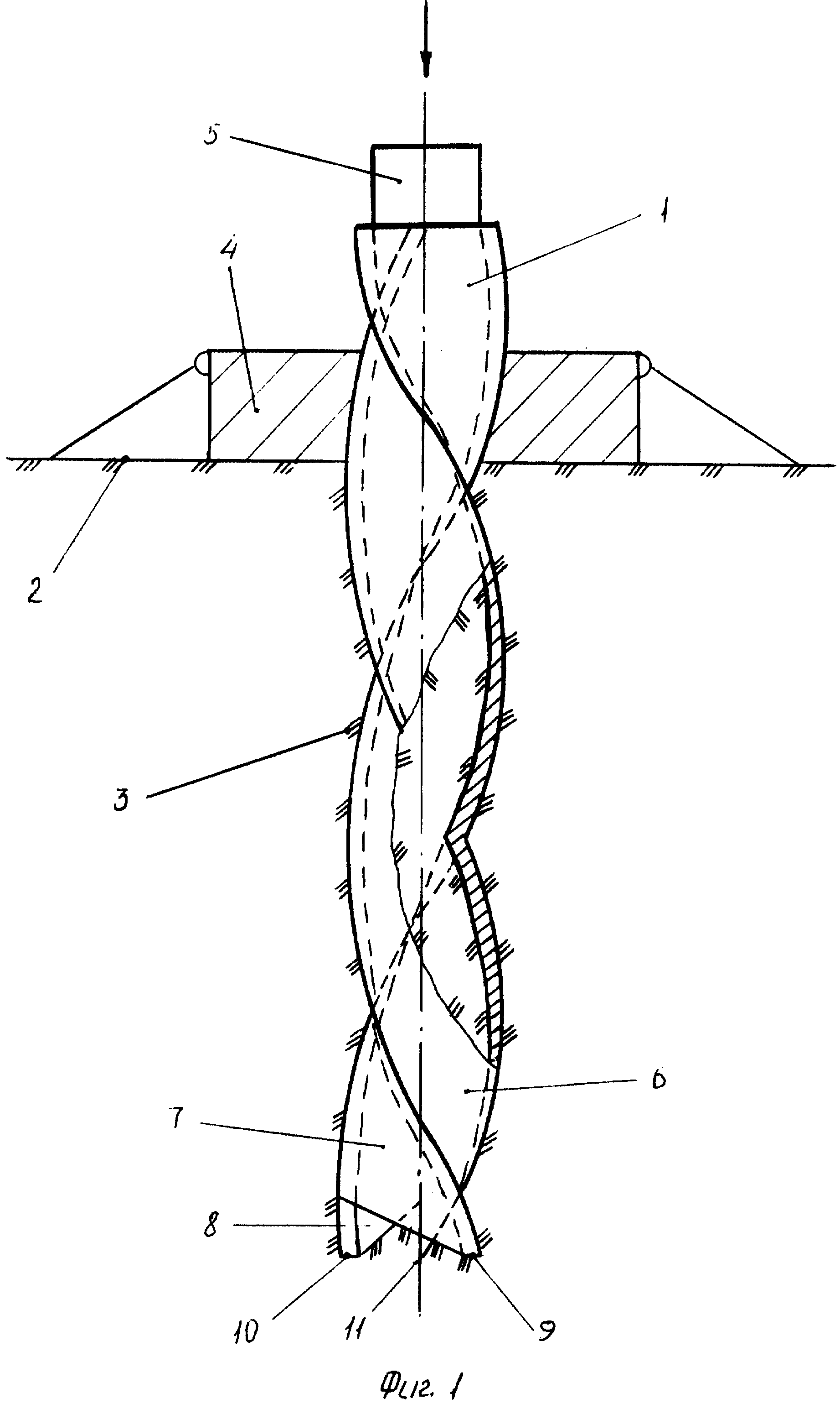
Изобретение относится к строительству, а именно к фундаментостроению. Винтовая свая включает винтовой ствол, снабженный расположенной и закрепленной на поверхности грунта гайкой. Новым является то, что ствол выполнен пустотелым из полос, свернутых в винт в продольном и поперечном направлении, и снабжен режущими кромками. Технический результат, обеспечиваемый изобретением, состоит в облегчении погружения сваи и снижении материалоемкости. 6 ил.
|