Промышленная Сибирь Ярмарка Сибири Промышленность СФО Электронные торги НОУ-ХАУ Электронные магазины Карта сайта
 
 

Поиск патентов

Как искать?
Реферат
Название
Публикация
Регистрационный номер
Имя заявителя
Имя изобретателя
Имя патентообладателя

    





Оформить заказ и задать интересующие Вас вопросы Вы можете напрямую c 6-00 до 14-30 по московскому времени кроме сб, вс. whatsapp 8-950-950-9888

На данной странице представлена ознакомительная часть выбранного Вами патента

Для получения более подробной информации о патенте (полное описание, формула изобретения и т.д.) Вам необходимо сделать заказ. Нажмите на «Корзину»


ЗАГРАЖДЕНИЕ ДЛЯ АВТОТРАНСПОРТА

Номер публикации патента: 2399716

Вид документа: C1 
Страна публикации: RU 
Рег. номер заявки: 2009123746/03 
  Сделать заказПолучить полное описание патента

Редакция МПК: 
Основные коды МПК: E01F013/10   F41H011/08    
Аналоги изобретения: RU 2333308, 10.09.2008. US 4576508, 18.03.1986. RU 2338830, 20.11.2008. 

Имя заявителя: Открытое акционерное общество "Конструкторское бюро специального машиностроения" (RU) 
Изобретатели: Васильев Игорь Викторович (RU)
Гуськов Владимир Дмитриевич (RU)
Долбенков Владимир Григорьевич (RU)
Зайцев Борис Иванович (RU)
Лямин Константин Александрович (RU)
Чуркин Константин Николаевич (RU) 
Патентообладатели: Открытое акционерное общество "Конструкторское бюро специального машиностроения" (RU) 

Реферат


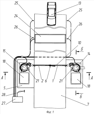
Изобретение относится к средствам для преграждения несанкционированного проезда автотранспорта (AT) и позволяет повысить эксплуатационную безопасность заграждения, обеспечивает возможность принудительной остановки AT без его существенного повреждения и приспособляемость заграждения к AT с разной величиной массы и движущемуся с разными скоростями. В случае возникновения аварийных ситуаций с AT обеспечивается возможность принудительной остановки с торможением, перегрузки при котором не превышают допустимые для организма человека. Заграждение содержит створки, которые с возможностью поворота в горизонтальной плоскости шарнирно закреплены на опорах, выполненных с возможностью закрепления на основании. Створки имеют возможность разъемного соединения одна с другой с помощью устройства фиксации при расположении створок поперек проезжей части. Устройство фиксации включает две части, которые выполнены с возможностью разъемного соединения между собой с помощью механизма фиксации и смонтированы каждая на консольном конце створки с помощью быстроразъемных узлов с возможностью разъединения со створкой при внешнем ударном воздействии на створки. Также заграждение содержит защитную преграду в виде вертикально расположенной протяженной в длину сетки. Сетка включает две части, один из концов каждой из которых закреплен на одной из упомянутых частей устройства фиксации, а другой конец - на соответствующем намоточно-размоточном барабане (НРБ). НРБ выполнен с возможностью закрепления на основании с возможностью вращения с регулируемым моментом сопротивления вращению. Сетка выполнена с резервной длиной, размещенной на упомянутых НРБ, установлена с обеспечением ее натяжения при расположении створок поперек проезжей части и расположена перед створками по ходу движения AT. В варианте выполнения каждая створка открывается и закрывается автоматически с помощью соответствующего мотор-редуктора, который подключен к системе управления (СУ) заграждением. Каждый НРБ снабжен приводом подмотки сетки, подключенным к упомянутой СУ, и тормозом, представляющим собой многодисковую фрикционную муфту с гидравлическим управлением. Также заграждение содержит устройство для взвешивания AT в движении и устройство для обнаружения и дистанционного измерения скорости движения AT, включающие соответственно весоизмерительные датчики и датчики обнаружения движущегося AT, которые электрически связаны с СУ заграждением. 10 з.п. ф-лы, 11 ил.

Дирекция сайта "Промышленная Сибирь"
Россия, г.Омск, ул.Учебная, 199-Б, к.408А
Сайт открыт 01.11.2000
© 2000-2018 Промышленная Сибирь
Разработка дизайна сайта:
Дизайн-студия "RayStudio"