Промышленная Сибирь Ярмарка Сибири Промышленность СФО Электронные торги НОУ-ХАУ Электронные магазины Карта сайта
 
 

Поиск патентов

Как искать?
Реферат
Название
Публикация
Регистрационный номер
Имя заявителя
Имя изобретателя
Имя патентообладателя

    





Оформить заказ и задать интересующие Вас вопросы Вы можете напрямую c 6-00 до 14-30 по московскому времени кроме сб, вс. whatsapp 8-950-950-9888

На данной странице представлена ознакомительная часть выбранного Вами патента

Для получения более подробной информации о патенте (полное описание, формула изобретения и т.д.) Вам необходимо сделать заказ. Нажмите на «Корзину»


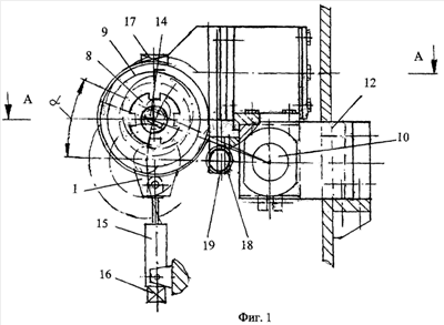
ФРЕЗЕРНАЯ ГОЛОВКА

Номер публикации патента: 2465102

Вид документа: C1 
Страна публикации: RU 
Рег. номер заявки: 2011119939/02 
  Сделать заказПолучить полное описание патента

Редакция МПК: 
Основные коды МПК: B23C003/00   E01B031/13    
Аналоги изобретения: RU 2396149 C1, 10.08.2010. SU 1437193 A1, 30.05.1988. SU 1386430 A1, 07.04.1988. RU 2287633 C1, 20.11.2006. EP 0843043 A1, 20.05.1998. 

Имя заявителя: Открытое акционерное общество Научно-исследовательский и конструкторско-технологический институт подвижного состава (ОАО "ВНИКТИ") (RU) 
Изобретатели: Кириков Александр Константинович (RU)
Краснов Олег Геннадьевич (RU) 
Патентообладатели: Открытое акционерное общество Научно-исследовательский и конструкторско-технологический институт подвижного состава (ОАО "ВНИКТИ") (RU) 

Реферат


Изобретение относится к оборудованию для обработки профилей и может быть использовано для устранения локальных неровностей продольного и поперечного профиля рельса, в том числе в зоне сварных стыков рельсовых плетей методом профильного фрезерования. Фрезерная головка содержит фрезу с приводом ее вращения и установлена на цилиндрической направляющей с возможностью перемещения вдоль ее оси и поворота вокруг этой направляющей при помощи приводов. Приводы выполнены с датчиками измерения величины перемещения и поворота фрезы и с датчиками, сигнализирующими о касании фрезой обрабатываемых поверхностей, связанными с датчиками измерения профиля обрабатываемых поверхностей и с системами автоматического измерения и управления процессом механической обработки. Фрезерная головка установлена на цилиндрической направляющей с возможностью поворота в плоскости, параллельной оси фрезы, при помощи дополнительного привода с датчиком измерения угла ее поворота, связанным с упомянутыми системами автоматического измерения и управления процессом механической обработки. Повышается эффективность обработки, расширяются технические возможностей фрезерной головки. 2 ил.

Дирекция сайта "Промышленная Сибирь"
Россия, г.Омск, ул.Учебная, 199-Б, к.408А
Сайт открыт 01.11.2000
© 2000-2018 Промышленная Сибирь
Разработка дизайна сайта:
Дизайн-студия "RayStudio"