Промышленная Сибирь Ярмарка Сибири Промышленность СФО Электронные торги НОУ-ХАУ Электронные магазины Карта сайта
 
 

Поиск патентов

Как искать?
Реферат
Название
Публикация
Регистрационный номер
Имя заявителя
Имя изобретателя
Имя патентообладателя

    





Оформить заказ и задать интересующие Вас вопросы Вы можете напрямую c 6-00 до 14-30 по московскому времени кроме сб, вс. whatsapp 8-950-950-9888

На данной странице представлена ознакомительная часть выбранного Вами патента

Для получения более подробной информации о патенте (полное описание, формула изобретения и т.д.) Вам необходимо сделать заказ. Нажмите на «Корзину»


ОСТРАЯ КРЕСТОВИНА ДЛЯ РЕЛЬСОВЫХ ПЕРЕСЕЧЕНИЙ

Номер публикации патента: 2455411

Вид документа: C1 
Страна публикации: RU 
Рег. номер заявки: 2011100611/11 
  Сделать заказПолучить полное описание патента

Редакция МПК: 
Основные коды МПК: E01B007/10    
Аналоги изобретения: US 3755670 А, 28.08.1973. US 1072866 A, 09.09.1913. RU 16154 U1, 10.12.2000. 

Имя заявителя: Федеральное государственное образовательное учреждение высшего профессионального образования "Петербургский государственный университет путей сообщения" (RU) 
Изобретатели: Говоров Вадим Владимирович (RU)
Дудкин Евгений Павлович (RU)
Басовский Дмитрий Аркадьевич (RU) 
Патентообладатели: Федеральное государственное образовательное учреждение высшего профессионального образования "Петербургский государственный университет путей сообщения" (RU) 

Реферат


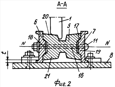
Изобретение относится к области строительства городского рельсового транспорта и предназначается для использования в конструкциях пересечений трамвайных путей. Острая крестовина для рельсовых пересечений содержит зону перекатывания колес 1 с усовиков на сердечник, выполненную в общей отливке 5, две накладки 6 и 7 и крепежные болты 11. Накладки опираются на металлический мостик 8 и сжимают отливку 5 своими средними участками. Крепежные болты 11 предназначены для соединения накладок 6 и 7 друг с другом и стыковки самой крестовины с примыкающими к ней путевыми рельсами. Отливка 5 выполнена симметричной относительно горизонтальной плоскости, проходящей через ее центр тяжести 16. Поверхности взаимного контакта отливки 5 с накладками 6 и 7 выполнены в виде клиновых соединений 18, 19, стянутых крепежными болтами 11 так, что между металлическим мостиком 8 и отливкой 5 имеется зазор, предохраняющий от возможности их взаимодействия. Технический результат заключается в повышении эксплуатационного ресурса конструкции. 2 ил.

Дирекция сайта "Промышленная Сибирь"
Россия, г.Омск, ул.Учебная, 199-Б, к.408А
Сайт открыт 01.11.2000
© 2000-2018 Промышленная Сибирь
Разработка дизайна сайта:
Дизайн-студия "RayStudio"