Промышленная Сибирь Ярмарка Сибири Промышленность СФО Электронные торги НОУ-ХАУ Электронные магазины Карта сайта
 
 

Поиск патентов

Как искать?
Реферат
Название
Публикация
Регистрационный номер
Имя заявителя
Имя изобретателя
Имя патентообладателя

    





Оформить заказ и задать интересующие Вас вопросы Вы можете напрямую c 6-00 до 14-30 по московскому времени кроме сб, вс. whatsapp 8-950-950-9888

На данной странице представлена ознакомительная часть выбранного Вами патента

Для получения более подробной информации о патенте (полное описание, формула изобретения и т.д.) Вам необходимо сделать заказ. Нажмите на «Корзину»


СТРЕЛКА С ПОДВИЖНЫМ ОСТРИЕМ КРЕСТОВИНЫ

Номер публикации патента: 2443824

Вид документа: C1 
Страна публикации: RU 
Рег. номер заявки: 2010133999/11 
  Сделать заказПолучить полное описание патента

Редакция МПК: 
Основные коды МПК: E01B007/14    
Аналоги изобретения: ЕР 0343150 A2, 23.11.1989. SU 1717648 A1, 07.03.1992. RU 2007478 C1, 15.02.1994. 

Имя заявителя: ФАЕ АЙЗЕНБАНЗЮСТЕМЕ ГМБХ (AT),
ФАЕ ГМБХ (AT) 
Изобретатели: ОСБЕРГЕР Хайнц (AT)
КЛЕМЕН Томас (AT)
КРЕНН Гернот (AT) 
Патентообладатели: ФАЕ АЙЗЕНБАНЗЮСТЕМЕ ГМБХ (AT)
ФАЕ ГМБХ (AT) 
Приоритетные данные: 14.01.2008 AT A53/2008 

Реферат


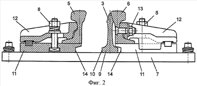
Изобретение относится к стрелке с крестовиной с подвижным острием и усовиками. Стрелка содержит крестовину с подвижным острием и усовиками (5, 6). Усовики (5, б) в зоне острия крестовины имеют рельсовый профиль, более низкий по сравнению со стандартным рельсовым профилем. Усовики (5, 6) выполнены в виде широкоподошвенных рельсов и изготовлены соответственно из одного отрезка рельса. Выполненный с более низким рельсовым профилем участок усовиков изготовлен путем пластического деформирования, исходя из широкоподошвенного рельсового профиля. Технический результат заключается в создании стрелки, которая в зоне острия крестовины имела бы рельсовый профиль, более низкий по сравнению со стандартным рельсовым профилем, и которая не требовала бы отдельного рельсового профиля и соединительных сварок. 6 з.п. ф-лы, 6 ил.

Дирекция сайта "Промышленная Сибирь"
Россия, г.Омск, ул.Учебная, 199-Б, к.408А
Сайт открыт 01.11.2000
© 2000-2018 Промышленная Сибирь
Разработка дизайна сайта:
Дизайн-студия "RayStudio"