Промышленная Сибирь Ярмарка Сибири Промышленность СФО Электронные торги НОУ-ХАУ Электронные магазины Карта сайта
 
 

Поиск патентов

Как искать?
Реферат
Название
Публикация
Регистрационный номер
Имя заявителя
Имя изобретателя
Имя патентообладателя

    





Оформить заказ и задать интересующие Вас вопросы Вы можете напрямую c 6-00 до 14-30 по московскому времени кроме сб, вс. whatsapp 8-950-950-9888

На данной странице представлена ознакомительная часть выбранного Вами патента

Для получения более подробной информации о патенте (полное описание, формула изобретения и т.д.) Вам необходимо сделать заказ. Нажмите на «Корзину»


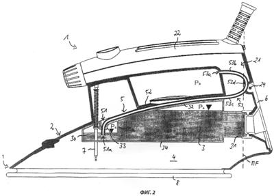
УТЮГ, СОДЕРЖАЩИЙ КОРПУС И КОНТЕЙНЕР ДЛЯ ЖИДКОСТИ

Номер публикации патента: 2420619

Вид документа: C2 
Страна публикации: RU 
Рег. номер заявки: 2008120131/12 
  Сделать заказПолучить полное описание патента

Редакция МПК: 
Основные коды МПК: D06F075/14    
Аналоги изобретения: WO 2005014916 A1, 17.02.2005. US 3811208 A, 21.05.1974. GB 638019 A, 31.05.1950. FR 2653455 A1, 26.04.1991. RU 2248420 C1, 20.03.2005. US 6745504 B2, 08.06.2004. 

Имя заявителя: БСХ БОШ УНД СИМЕНС ХАУСГЕРЕТЕ ГМБХ (DE) 
Изобретатели: АЛЬБАНДОС РУИС ДЕ ОСЕНДА Кармело (ES) 
Патентообладатели: БСХ БОШ УНД СИМЕНС ХАУСГЕРЕТЕ ГМБХ (DE) 
Приоритетные данные: 14.11.2005 ES P200502912 

Реферат


Изобретение относится к утюгу. Корпус (2) утюга (1) имеет на заднем участке (21) отверстие (23) для заполнения контейнера (3) для жидкости. Устройство выравнивания давления выполнено для выравнивания давления между контейнером (3) для жидкости и средой, окружающей утюг (1). Устройство выравнивания давления содержит воздухопровод (5), первый конечный участок (51) которого (5) входит в передний участок (30) контейнера (3) для жидкости, а второй конечный участок (53) воздухопровода (5) проходит в заднем участке (21) корпуса (2) утюга (1) и выходит из заднего участка (21) корпуса (2) утюга (1). Второй конечный участок (53) воздуховода (5) выполнен дугообразно. Вершина (53d) дугообразной формы расположена горизонтально дальше в направлении заднего конца утюга (1), чем максимальный уровень (MF) заполнения контейнера (3) для жидкости. 9 з.п. ф-лы, 2 ил.

Дирекция сайта "Промышленная Сибирь"
Россия, г.Омск, ул.Учебная, 199-Б, к.408А
Сайт открыт 01.11.2000
© 2000-2018 Промышленная Сибирь
Разработка дизайна сайта:
Дизайн-студия "RayStudio"