Промышленная Сибирь Ярмарка Сибири Промышленность СФО Электронные торги НОУ-ХАУ Электронные магазины Карта сайта
 
 

Поиск патентов

Как искать?
Реферат
Название
Публикация
Регистрационный номер
Имя заявителя
Имя изобретателя
Имя патентообладателя

    





Оформить заказ и задать интересующие Вас вопросы Вы можете напрямую c 6-00 до 14-30 по московскому времени кроме сб, вс. whatsapp 8-950-950-9888

На данной странице представлена ознакомительная часть выбранного Вами патента

Для получения более подробной информации о патенте (полное описание, формула изобретения и т.д.) Вам необходимо сделать заказ. Нажмите на «Корзину»


УТЮГ, СОДЕРЖАЩИЙ КЛАПАН, РЕГУЛИРУЕМЫЙ ПОСРЕДСТВОМ ИЗМЕНЯЕМОГО ПОД ВОЗДЕЙСТВИЕМ ТЕМПЕРАТУРЫ ЭЛЕМЕНТА

Номер публикации патента: 2416685

Вид документа: C2 
Страна публикации: RU 
Рег. номер заявки: 2008130056/12 
  Сделать заказПолучить полное описание патента

Редакция МПК: 
Основные коды МПК: D06F075/18    
Аналоги изобретения: ЕР 1000192 А1, 17.05.2000. GB 951532 А, 04.03.1964. ЕР 0674037 А1, 27.09.1995. WО 2004033786 А1, 22.04.2004. US 6105286 А, 22.08.2000. RU 2094553 C1, 27.10.1997. 

Имя заявителя: РОВЕНТА ВЕРКЕ ГМБХ (DE) 
Изобретатели: ВЕБЕР Йохен (DE)
ХАН Маттиас (DE) 
Патентообладатели: РОВЕНТА ВЕРКЕ ГМБХ (DE) 
Приоритетные данные: 22.12.2005 FR 05/13134 

Реферат


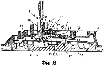
Изобретение относится к паровым утюгам. Подошва (1) находится в тепловой связи с нагревательным блоком (5), снабженным паровым котлом (53). Паровой котел (53) соединен с резервуаром (7) посредством системы подачи, включающей в себя регулировочный клапан (10) подачи, степень открытия которого регулируется посредством изменяемого под воздействием температуры элемента (16), находящегося в тепловой связи с нагревательным блоком (5). Открытие регулировочного клапана (10) сдерживается, начиная с промежуточной температуры, посредством стабилизирующего элемента (18), оказывающего усилие, противоположное усилию, производимому изменяемым под воздействием температуры элементом (16). 9 з.п. ф-лы, 16 ил.

Дирекция сайта "Промышленная Сибирь"
Россия, г.Омск, ул.Учебная, 199-Б, к.408А
Сайт открыт 01.11.2000
© 2000-2018 Промышленная Сибирь
Разработка дизайна сайта:
Дизайн-студия "RayStudio"