Промышленная Сибирь Ярмарка Сибири Промышленность СФО Электронные торги НОУ-ХАУ Электронные магазины Карта сайта
 
 

Поиск патентов

Как искать?
Реферат
Название
Публикация
Регистрационный номер
Имя заявителя
Имя изобретателя
Имя патентообладателя

    





Оформить заказ и задать интересующие Вас вопросы Вы можете напрямую c 6-00 до 14-30 по московскому времени кроме сб, вс. whatsapp 8-950-950-9888

На данной странице представлена ознакомительная часть выбранного Вами патента

Для получения более подробной информации о патенте (полное описание, формула изобретения и т.д.) Вам необходимо сделать заказ. Нажмите на «Корзину»


УСТРОЙСТВО ДЛЯ КРЕПЛЕНИЯ БЕЛЬЕВЫХ ВЕРЕВОК (ВАРИАНТЫ)

Номер публикации патента: 2464366

Вид документа: C1 
Страна публикации: RU 
Рег. номер заявки: 2011147289/12 
  Сделать заказПолучить полное описание патента

Редакция МПК: 
Основные коды МПК: D06F057/12    
Аналоги изобретения: RU 101715 U1, 2011.04.01. RU 20270242 С1, 1996.12.10. US 0004261469 A, 1981.04.14. US 20100219145 A1, 2010.09.02. RU 2051251 C1, 1995.12.27. 

Имя заявителя: Леухин Николай Николаевич (RU) 
Изобретатели: Леухин Николай Николаевич (RU) 
Патентообладатели: Леухин Николай Николаевич (RU) 

Реферат


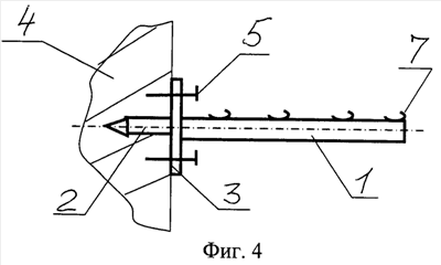
Устройство для крепления бельевых веревок относится к области жизнедеятельности человека, а более конкретно к обустройству балконов, особенно обнесенных пластиковыми конструкциями, установка креплений в которые не допускается. Устройство включает направляющую 1 с заостренным концом 2 с одной стороны и шайбой 3, прикрепленной к направляющей 1. Для дополнительного крепления устройство имеет отверстия в шайбе 3. С целью предотвращения сползания веревок устройство включает упор 6 на конце направляющей 1. Вариант исполнения устройства включает узлы крепления веревок 7 на направляющей 1, шайбу 3 с отверстиями в ней для крепления устройства к стене. 2 н. и 3 з.п. ф-лы, 4 ил.

Дирекция сайта "Промышленная Сибирь"
Россия, г.Омск, ул.Учебная, 199-Б, к.408А
Сайт открыт 01.11.2000
© 2000-2018 Промышленная Сибирь
Разработка дизайна сайта:
Дизайн-студия "RayStudio"