Промышленная Сибирь Ярмарка Сибири Промышленность СФО Электронные торги НОУ-ХАУ Электронные магазины Карта сайта
 
 

Поиск патентов

Как искать?
Реферат
Название
Публикация
Регистрационный номер
Имя заявителя
Имя изобретателя
Имя патентообладателя

    





Оформить заказ и задать интересующие Вас вопросы Вы можете напрямую c 6-00 до 14-30 по московскому времени кроме сб, вс. whatsapp 8-950-950-9888

На данной странице представлена ознакомительная часть выбранного Вами патента

Для получения более подробной информации о патенте (полное описание, формула изобретения и т.д.) Вам необходимо сделать заказ. Нажмите на «Корзину»


СТИРАЛЬНАЯ МАШИНА С ВИЗУАЛЬНЫМ ИНДИКАТОРОМ УРОВНЯ МОЮЩЕГО СРЕДСТВА

Номер публикации патента: 2451120

Вид документа: C2 
Страна публикации: RU 
Рег. номер заявки: 2008122603/12 
  Сделать заказПолучить полное описание патента

Редакция МПК: 
Основные коды МПК: D06F039/02    
Аналоги изобретения: WO 2007042458 A1, 19.04.2007. DE 19741023 A1, 25.03.1999. WO 2005090668 A2, 29.09.2005. IT 1171727 В, 10.06.1987. 

Имя заявителя: ЭЛЕКТРОЛЮКС ХОУМ ПРОДАКТС КОРПОРЕЙШН Н.В. (BE) 
Изобретатели: ФАББРО Эди (IT)
РЕЙД Никола (IT) 
Патентообладатели: ЭЛЕКТРОЛЮКС ХОУМ ПРОДАКТС КОРПОРЕЙШН Н.В. (BE) 
Приоритетные данные: 05.06.2007 EP 07109597.0 

Реферат


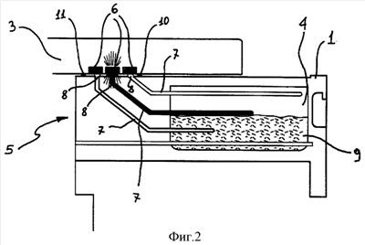
Изобретение относится к стиральной машине, содержащей средства визуальной индикации необходимого для стирки количества моющего средства. Изобретение направлено на создание стиральной машины, в которой необходимое количество моющего средства указывается пользователю с большой надежностью. Согласно изобретению стиральная машина, включающая в себя расположенный внутри ее ниши (2) с возможностью скольжения выдвижной ящик (1), содержащий, по меньшей мере, один отсек (4) для некоторого количества моющего средства (9), и средства (5) визуальной индикации необходимого для стирки количества моющего средства (9), при этом средства (5) визуальной индикации содержат, по меньшей мере, одно световое средство (6, 7), установленное с возможностью индикации необходимого уровня заполнения отсека (4) вводимым в него моющим средством (9), отличающаяся тем, что световые средства (6, 7) содержат, по меньшей мере, один световой излучатель (6) и, по меньшей мере, один связанный с выдвижным ящиком (1) световод (7) для приема светового излучения от излучателя (6). 13 з.п. ф-лы, 2 ил.

Дирекция сайта "Промышленная Сибирь"
Россия, г.Омск, ул.Учебная, 199-Б, к.408А
Сайт открыт 01.11.2000
© 2000-2018 Промышленная Сибирь
Разработка дизайна сайта:
Дизайн-студия "RayStudio"