Промышленная Сибирь Ярмарка Сибири Промышленность СФО Электронные торги НОУ-ХАУ Электронные магазины Карта сайта
 
 

Поиск патентов

Как искать?
Реферат
Название
Публикация
Регистрационный номер
Имя заявителя
Имя изобретателя
Имя патентообладателя

    





Оформить заказ и задать интересующие Вас вопросы Вы можете напрямую c 6-00 до 14-30 по московскому времени кроме сб, вс. whatsapp 8-950-950-9888

На данной странице представлена ознакомительная часть выбранного Вами патента

Для получения более подробной информации о патенте (полное описание, формула изобретения и т.д.) Вам необходимо сделать заказ. Нажмите на «Корзину»


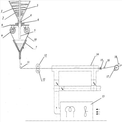
СПОСОБ ПОЛУЧЕНИЯ КОМБИНИРОВАННОЙ НИТИ НА ОСНОВЕ КОРОТКИХ ВОЛОКОН И УСТРОЙСТВО ДЛЯ ЕГО ОСУЩЕСТВЛЕНИЯ

Номер публикации патента: 2419692

Вид документа: C1 
Страна публикации: RU 
Рег. номер заявки: 2010116929/12 
  Сделать заказПолучить полное описание патента

Редакция МПК: 
Основные коды МПК: D02G003/18    
Аналоги изобретения: US 20080041030 A1, 21.02.2008. KR 898466 B1, 21.05.2009. US 20070141333 A1, 21.06.2007. US 5260011 A, 09.11.1993. 

Имя заявителя: Государственное образовательное учреждение высшего профессионального образования "Московский государственный текстильный университет имени А.Н. Косыгина" (ГОУВПО "МГТУ им. А.Н. Косыгина") (RU),
Федеральное государственное унитарное предприятие "Всероссийский научно-исследовательский институт авиационных материалов" (ФГУП "ВИАМ") (RU) 
Изобретатели: Капитанов Анатолий Федорович (RU)
Волков Виктор Анатольевич (RU)
Жариков Евгений Иванович (RU)
Папилин Николай Михайлович (RU)
Щетанов Борис Владимирович (RU)
Ивахненко Юрий Александрович (RU)
Варрик Наталья Мироновна (RU) 
Патентообладатели: Государственное образовательное учреждение высшего профессионального образования "Московский государственный текстильный университет имени А.Н. Косыгина" (ГОУВПО "МГТУ им. А.Н. Косыгина") (RU)
Федеральное государственное унитарное предприятие "Всероссийский научно-исследовательский институт авиационных материалов" (ФГУП "ВИАМ") (RU) 

Реферат


Изобретение относится к способам получения комбинированных нитей, содержащих короткие волокна, в частности, к высокотемпературным нитям для получения огнеупорных материалов, а также к устройствам для их получения. Способ получения комбинированной нити на основе коротких волокон, включает подачу волокон в зону движения вспомогательной нити, закрепление волокон на этой нити и подачу полученной комбинированной нити в зону наматывания, причем водный шликер получают предварительно из коротких волокон и осуществляют подачу коротких волокон в составе струи водного щликера в зону движения и скручивания не менее чем двух вспомогательных нитей. Наматыванию комбинированной нити предшествует ее отжим и сушка. Предложено также устройство для получения комбинированной нити, включающее зону загрузки волокна, зону прядения с использованием вспомогательной нити и зону намотки, причем волокно в зону загрузки поступает в виде водного шликера. Между зоной прядения и зоной намотки дополнительно находится зона сушки комбинированной нити. Полученные комбинированные нити могут быть использованы для получения широкого спектра изделий, в частности для производства высокотемпературных теплозащитных теплоизоляционных тканей, лент, ремней транспортеров печей, уплотнительных шнуров для изоляции периметров заслонок горячей зоны и т.п. 2 н. и 5 з.п. ф-лы, 1 ил., 1 табл.

Дирекция сайта "Промышленная Сибирь"
Россия, г.Омск, ул.Учебная, 199-Б, к.408А
Сайт открыт 01.11.2000
© 2000-2018 Промышленная Сибирь
Разработка дизайна сайта:
Дизайн-студия "RayStudio"