|
На данной странице представлена ознакомительная часть выбранного Вами патента
Для получения более подробной информации о патенте (полное описание, формула изобретения и т.д.) Вам необходимо сделать заказ. Нажмите на «Корзину»
| УСТРОЙСТВО ДЛЯ ВЫРАЩИВАНИЯ МОНОКРИСТАЛЛОВ КРЕМНИЯ |  |
Номер публикации патента: 2162903 |  |
| Редакция МПК: | 7 | | Основные коды МПК: | C30B015/30 | | Аналоги изобретения: | US 5126113 A1, 30.06.1992. RU 2109857 C1, 27.04.1998. WO 98/10125 A1, 12.03.1998. EP 0449260 A2, 02.10.1991. EP 0826796 A1, 04.03.1998. |
| Имя заявителя: | Федеральное государственное унитарное предприятие Государственный научно-исследовательский и проектный институт редкометаллической промышленности | | Изобретатели: | Жвирблянский В.Ю. Елютин А.В. Золотова Г.А. | | Патентообладатели: | Федеральное государственное унитарное предприятие Государственный научно-исследовательский и проектный институт редкометаллической промышленности |
Реферат |  |
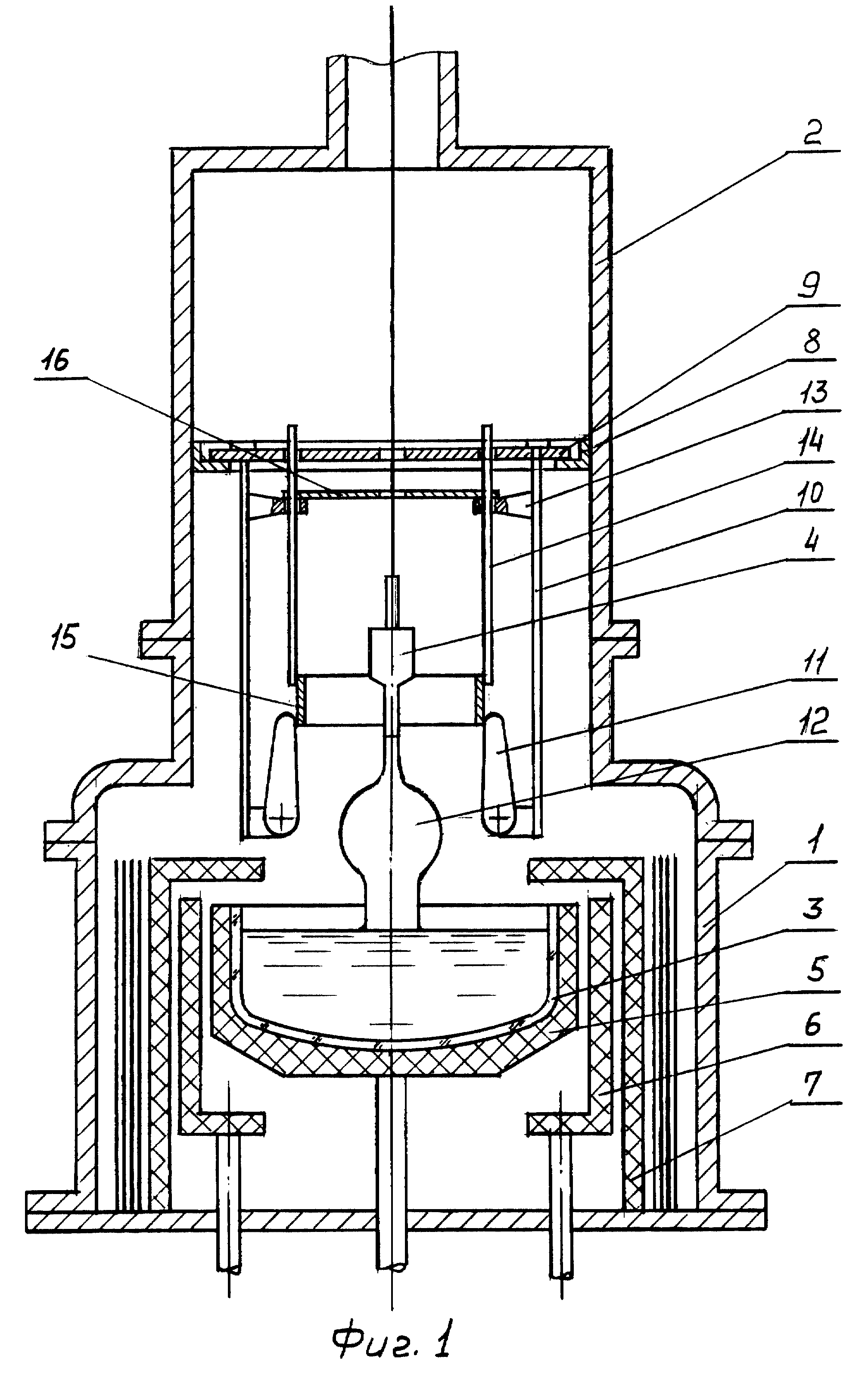
Изобретение относится к оборудованию, предназначенному для получения крупногабаритных монокристаллов кремния методом Чохральского. Технический результат - упрощение конструкции, повышение надежности устройства и чистоты процесса. Устройство содержит герметичную камеру, имеющую верхнюю и нижнюю части. Тигель с расплавом размещен в нижней части камеры. Затравкодержатель расположен в верхней части камеры и соединен с приводами вращения и перемещения. Верхняя часть камеры имеет выступ, на котором свободно установлена шайба. Средство для поддержания кристалла содержит рычаги с опорами и захватами. В опорах размещены направляющие. К нижней части направляющих закреплено кольцо, взаимодействующее с захватами, а к верхней - пластина. При выращивании монокристалла затравкодержатель перемещется вверх. Пластина контактирует с затравкодержателем. Направляющие начинают перемещаться вверх, и кольцо освобождает захваты. Последние подхватывают кристалл и удерживают его до окончания процесса роста. Устройство содержит простые конструктивные элементы, обеспечивают надежное поддержание кристалла и чистоту процесса. 2 ил.
|