Промышленная Сибирь Ярмарка Сибири Промышленность СФО Электронные торги НОУ-ХАУ Электронные магазины Карта сайта
 
 

Поиск патентов

Как искать?
Реферат
Название
Публикация
Регистрационный номер
Имя заявителя
Имя изобретателя
Имя патентообладателя

    





Оформить заказ и задать интересующие Вас вопросы Вы можете напрямую c 6-00 до 14-30 по московскому времени кроме сб, вс. whatsapp 8-950-950-9888

На данной странице представлена ознакомительная часть выбранного Вами патента

Для получения более подробной информации о патенте (полное описание, формула изобретения и т.д.) Вам необходимо сделать заказ. Нажмите на «Корзину»


ЭЛЕКТРОЛИТИЧЕСКАЯ ЯЧЕЙКА

Номер публикации патента: 2427669

Вид документа: C2 
Страна публикации: RU 
Рег. номер заявки: 2009116277/07 
  Сделать заказПолучить полное описание патента

Редакция МПК: 
Основные коды МПК: C25B009/06   C25B011/02    
Аналоги изобретения: US 4469577 А, 04.09.1984. US 6596136 B1, 22.07.2003. SU 644871 A1, 30.01.1979. RU 2054050 C1, 10.02,1996. 

Имя заявителя: УДЕНОРА С.П.А. (IT) 
Изобретатели: ВОЛЬТЕРИНГ Петер (DE)
ДУЛЛЕ Карл-Хайнц (DE)
КИФЕР Рандольф (DE)
ЭЛЬМАНН Штефан (DE)
БОЙМЕР Ульф-Штеффен (DE) 
Патентообладатели: УДЕНОРА С.П.А. (IT) 
Приоритетные данные: 29.09.2006 DE 102006046808.2
29.09.2006 DE 102006046807.4 

Реферат


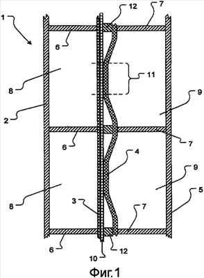
Изобретение относится к электролитической ячейке типовой одноэлементной конструкции для хлорщелочных электролитических установок, которая содержит анодное отделение и катодное отделение, причем каждое из двух отделений содержит электрод, соединенный с задней стенкой соответствующего отделения с помощью параллельных перемычек. Электроды, таким образом, поделены на несколько секций. Согласно изобретению, по меньшей мере, один из двух электродов имеет изогнутую форму в каждой секции, причем эта изогнутая секция выступает по направлению к противоположному электроду и прижимает область мембраны к противоположному электроду. Техническим результатом является снижение потерь напряжения, улучшение эффективности устройства, улучшение экономического показателя. 2 н. и 13 з.п. ф-лы, 5 ил.

Дирекция сайта "Промышленная Сибирь"
Россия, г.Омск, ул.Учебная, 199-Б, к.408А
Сайт открыт 01.11.2000
© 2000-2018 Промышленная Сибирь
Разработка дизайна сайта:
Дизайн-студия "RayStudio"