|
На данной странице представлена ознакомительная часть выбранного Вами патента
Для получения более подробной информации о патенте (полное описание, формула изобретения и т.д.) Вам необходимо сделать заказ. Нажмите на «Корзину»
| АНОДНЫЙ ЗАЗЕМЛИТЕЛЬ (ВАРИАНТЫ) |  |
Номер публикации патента: 2176687 |  |
| Редакция МПК: | 7 | | Основные коды МПК: | C23F013/08 | | Аналоги изобретения: | JP 55-15556, 24.04.1980. RU 2017862 C1, 25.05.1992. US 5026508, 25.06.1991. GB 1108692, 03.04.1968. EP 0118140, 12.09.1984. |
| Имя заявителя: | Научно-производственный Союз МАГ-К | | Изобретатели: | Кашинцов В.И. | | Патентообладатели: | Кашинцов Владимир Иванович |
Реферат |  |
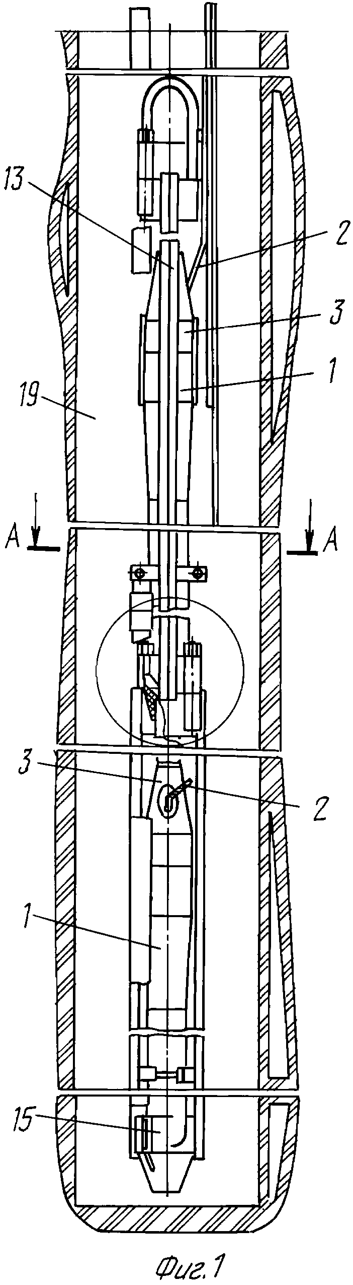
Изобретение относится к устройству для катодной защиты подземных сооружений от коррозии, в частности к глубинному скважинному заземлителю, и может быть использовано в нефтяной, газовой и энергетической промышленности, а также в коммунальном хозяйстве. Техническим результатом при создании данного изобретения является увеличение надежности и срока службы заявляемого. Указанный технический результат достигается тем, что по сравнению с известным многомодульным анодным заземлителем, содержащим электроды с токовыводами, электрически соединенные параллельно и расположенные последовательно, новым является то, что электроды соединены с переходными элементами с образованием модулей, которые скреплены в жесткую колонну с автономными токовыводами через боковую поверхность переходных элементов. Указанный технический результат достигается тем, что по сравнению с известным одномодульным анодным заземлителем, содержащим электрод с токовыводом и контактным узлом, новым является то, что он дополнительно содержит переходный элемент, выполненный в виде двух цилиндров разного диаметра, сопряженных между собой усеченным конусом и сквозным отверстием, проходящим от торца цилиндра большего диаметра на боковую поверхность усеченного конуса. 2 с. и 16 з.п. ф-лы, 8 ил.
|