Промышленная Сибирь Ярмарка Сибири Промышленность СФО Электронные торги НОУ-ХАУ Электронные магазины Карта сайта
 
 

Поиск патентов

Как искать?
Реферат
Название
Публикация
Регистрационный номер
Имя заявителя
Имя изобретателя
Имя патентообладателя

    





Оформить заказ и задать интересующие Вас вопросы Вы можете напрямую c 6-00 до 14-30 по московскому времени кроме сб, вс. whatsapp 8-950-950-9888

На данной странице представлена ознакомительная часть выбранного Вами патента

Для получения более подробной информации о патенте (полное описание, формула изобретения и т.д.) Вам необходимо сделать заказ. Нажмите на «Корзину»


СПОСОБ ИМПУЛЬСНО - ПЕРИОДИЧЕСКОЙ ИОННОЙ ОБРАБОТКИ МЕТАЛЛИЧЕСКОГО ИЗДЕЛИЯ И УСТРОЙСТВО ДЛЯ ЕГО ОСУЩЕСТВЛЕНИЯ

Номер публикации патента: 2454485

Вид документа: C1 
Страна публикации: RU 
Рег. номер заявки: 2010142498/02 
  Сделать заказПолучить полное описание патента

Редакция МПК: 
Основные коды МПК: C23C014/48    
Аналоги изобретения: RU 98100674 A, 27.10.1999. RU 2238999 C1, 27.10.2004. RU 2113538 C1, 20.06.1998. EP 838840 B1, 31.05.2006. US 20050260837 A1, 24.11.2005. 

Имя заявителя: Государственное образовательное учреждение высшего профессионального образования "Ивановский государственный энергетический университет имени В.И. Ленина" (ИГЭУ) (RU) 
Изобретатели: Воробьев Сергей Викторович (RU)
Воробьев Виктор Федорович (RU)
Беляев Георгий Владимирович (RU)
Москвин Александр Олегович (RU) 
Патентообладатели: Государственное образовательное учреждение высшего профессионального образования "Ивановский государственный энергетический университет имени В.И. Ленина" (ИГЭУ) (RU) 

Реферат


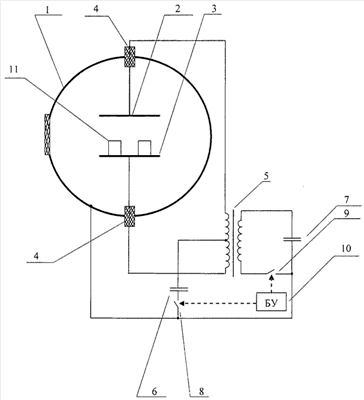
Изобретение относится к ионно-лучевым технологиям получения материалов со специальными свойствами, а именно к способам и устройствам для ионной обработки изделий, и предназначено для изменения физических, механических и химических свойств поверхностных слоев металлов или сплавов. Способ включает размещение металлических изделий в вакуумной камере, очистку поверхности изделий бомбардировкой ионами и электронами, подачу ионизируемого вещества, его ионизацию для формирования ионной плазмы и ускорение ионов в плазме электрическим полем. При этом генерацию плазмы и ускорение ионов осуществляют поочередно и многократно. Устройство для реализации способа содержит заземленную металлическую вакуумную камеру с закрепленными в ней внешним электродом и опорным электродом, которые подключены к источнику напряжения. Источник напряжения подключен через блок управления к первому коммутатору, соединенному с первым высоковольтным емкостным накопителем, который подключен к средней точке вторичной обмотки высоковольтного импульсного трансформатора, и ко второму коммутатору. При этом второй коммутатор соединен со вторым высоковольтным емкостным накопителем, подключенным к первичной обмотке высоковольтного импульсного трансформатора. Технический результат - повышение рабочих свойств поверхностей изделий, увеличение их износостойкости. 2 н.п. ф-лы, 1 ил.

Дирекция сайта "Промышленная Сибирь"
Россия, г.Омск, ул.Учебная, 199-Б, к.408А
Сайт открыт 01.11.2000
© 2000-2018 Промышленная Сибирь
Разработка дизайна сайта:
Дизайн-студия "RayStudio"