Промышленная Сибирь Ярмарка Сибири Промышленность СФО Электронные торги НОУ-ХАУ Электронные магазины Карта сайта
 
 

Поиск патентов

Как искать?
Реферат
Название
Публикация
Регистрационный номер
Имя заявителя
Имя изобретателя
Имя патентообладателя

    





Оформить заказ и задать интересующие Вас вопросы Вы можете напрямую c 6-00 до 14-30 по московскому времени кроме сб, вс. whatsapp 8-950-950-9888

На данной странице представлена ознакомительная часть выбранного Вами патента

Для получения более подробной информации о патенте (полное описание, формула изобретения и т.д.) Вам необходимо сделать заказ. Нажмите на «Корзину»


УСТРОЙСТВО ДЛЯ ПРОПИТКИ, ПРОЛЕЖКИ И СУШКИ МЕХОВЫХ ШКУРОК, ОБРАБАТЫВАЕМЫХ "ЧУЛКОМ"

Номер публикации патента: 2370543

Вид документа: C1 
Страна публикации: RU 
Рег. номер заявки: 2008124076/12 
  Сделать заказПолучить полное описание патента

Редакция МПК: 
Основные коды МПК: C14B015/06   C14C015/00    
Аналоги изобретения: RU 2287588 C1, 20.11. 2006. SU 573690 A1, 25.09.1977. WO 0244428 A1, 06.06.2002. 

Имя заявителя: Государственное образовательное учреждение высшего профессионального образования Восточно-Сибирский государственный технологический университет (RU) 
Изобретатели: Поломошных Сергей Прокопьевич (RU)
Спиридонов Александр Ильич (RU)
Калашникова Юлия Михайловна (RU)
Аюшеев Зоригто Радиевич (RU)
Ронский Андрей Евгеньевич (RU) 
Патентообладатели: Государственное образовательное учреждение высшего профессионального образования Восточно-Сибирский государственный технологический университет (RU) 

Реферат


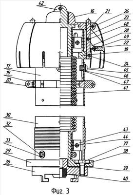
Изобретение относится к кожевенному и меховому производству и может быть использовано для поштучной обработки мехового полуфабриката эмульсиями второго рода типа «вода в масле». Устройство содержит сушильную камеру, соединенную с пневмосистемой и состоящую из верхней и нижней секций, расположенных на раме. Секции установлена открытыми частями одна напротив другой. Нагреватели расположены между корпусом каждой секции. Между секциями размещена подвижная крышка для их герметизации. На крышке с возможностью перемещения от одной секции к другой с обеих сторон закреплены емкости для циклодинамической подачи сжатого воздуха в съемные пневмодинамические камеры. Пневмодинамические камеры жестко установлены на муфты, которые размещены на поверхности каждой емкости. Внутри каждой секции установлены вентиляторы для равномерной циркуляции горячего воздуха и с возможностью отключения после открытия секции. Пневмодинамические камеры выполнены в виде лепестковых насадок, которые состоят из верхнего внешнего кольца 16 с резьбой, внешних 17 и внутренних 18 колец. На каждом внешнем 17 или внутреннем 18 кольце насадки, а также верхнем внешнем кольце 16 с резьбой лепестковой насадки пневмодинамической камеры 10 насажено и закреплено с помощью винтов 19 и шайб 20 кольцо 21 с креплениями для лепестков 22 и планок 23. Между парными кольцами имеются четыре вертикальные планки 23, причем в каждом верхнем из парных колец, а также в верхнем внешнем кольце 16 с резьбой планки 23 подвижны в кольце 21 с креплениями для лепестков 22 и планок 23. А в каждом нижнем кольце 21 с креплениями для лепестков 22 и планок 23 планки закреплены неподвижно штифтами 24. На каждом верхнем из парных колец в кольцах 21 с креплениями для лепестков 22 и планок 23 подвижно закреплены четыре лепестка 22. Лепестки 22 подвижно соединены с планками 23 через толкатели 28. В основании пневмодинамической камеры установлена платформа 29, на которой закреплена пневмодинамическая камера внешним нижним кольцом 30 с ребристой поверхностью для исключения скольжения обрабатываемой меховой шкурки 31, к которому прикрепляется обрабатываемая меховая шкурка 31. При этом хомут 34 стянут винтом 35. Также к платформе 29 крепится полугайка 36 муфты для подсоединения пневмодинамической камеры к устройству. Для герметичности соединения полугайки 36 муфты с платформой 29 между ними установлена резиновая прокладка 39. Для герметичности соединения в муфту в полугайке 36 муфты установлен резиновый уплотнитель 40. Для осуществления работы пневмодинамической камеры внутри нее установлен сильфон 41, в который циклически подается сжатый воздух. На один конец сильфона 41 закреплена пробка 42 с резьбой для ее соединения с верхним внешним кольцом 16 с резьбой верхней лепестковой насадки пневмодинамической камеры. Другой конец сильфона установлен на сопло платформы 29. Технический результат, который достигается при использовании устройства по изобретению, заключается в повышении производительности труда при обеспечении высокого качества пропитки, пролежки и сушки меховых шкурок, обрабатываемых чулком. 9 ил.

Дирекция сайта "Промышленная Сибирь"
Россия, г.Омск, ул.Учебная, 199-Б, к.408А
Сайт открыт 01.11.2000
© 2000-2018 Промышленная Сибирь
Разработка дизайна сайта:
Дизайн-студия "RayStudio"