Промышленная Сибирь Ярмарка Сибири Промышленность СФО Электронные торги НОУ-ХАУ Электронные магазины Карта сайта
 
 

Поиск патентов

Как искать?
Реферат
Название
Публикация
Регистрационный номер
Имя заявителя
Имя изобретателя
Имя патентообладателя

    





Оформить заказ и задать интересующие Вас вопросы Вы можете напрямую c 6-00 до 14-30 по московскому времени кроме сб, вс. whatsapp 8-950-950-9888

На данной странице представлена ознакомительная часть выбранного Вами патента

Для получения более подробной информации о патенте (полное описание, формула изобретения и т.д.) Вам необходимо сделать заказ. Нажмите на «Корзину»


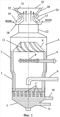
САТУРАТОР ДЛЯ СВЕКЛОСАХАРНОГО ПРОИЗВОДСТВА

Номер публикации патента: 2449021

Вид документа: C1 
Страна публикации: RU 
Рег. номер заявки: 2010140105/05 
  Сделать заказПолучить полное описание патента

Редакция МПК: 
Основные коды МПК: C13B020/04    
Аналоги изобретения: RU 2196830 C1, 20.01.2003. UA 39757 C2, 15.06.2004. CN 201045141 Y, 20.11.2006. RU 2271394 C2, 10.03.2006. 

Имя заявителя: Федеральное государственное бюджетное образовательное учреждение высшего профессионального образования "Юго-Западный государственный университет" (ЮЗГУ) (RU) 
Изобретатели: Емельянов Сергей Геннадьевич (RU)
Кобелев Николай Сергеевич (RU)
Алябьева Татьяна Васильевна (RU)
Свиридов Виктор Васильевич (RU)
Павлова Елена Викторовна (RU) 
Патентообладатели: Федеральное государственное бюджетное образовательное учреждение высшего профессионального образования "Юго-Западный государственный университет" (ЮЗГУ) (RU) 

Реферат


Изобретение относится к пищевой промышленности. Сатуратор содержит цилиндрический корпус с коническим днищем, снабженный технологическими патрубками и размещенными в его нижней части перфорированными перегородками для диспергирования потока сатурационного газа. В верхней части цилиндрического корпуса расположено устройство для отделения капель сока от сатурационного газа, представляющее собой усеченный конус с продольными винтообразными канавками на внутренней поверхности, прикрепленный большим основанием к стенке цилиндрического корпуса с образованием снаружи полости для сбора выделившихся капель, сообщенный с полостью цилиндрического корпуса, расположенной под усеченным конусом. В цилиндрическом корпусе диаметрально расположены, по меньшей мере, четыре гибкие сливные трубки, заглушенные на нижнем торце, причем в стенке каждой трубки по длине выполнены суживающиеся сопла для подвода сока из полости сбора на внутреннюю поверхность цилиндрического корпуса и образования на ней пленки жидкости. В верхней части цилиндрического корпуса выполнен патрубок для сброса парогазового потока в атмосферу с вытяжным устройством, включающим конфузор и кольцевой конфузорный канал с устройством регулирования подачи ветрового потока атмосферного воздуха и диффузор с ребрами, продольно расположенными от его входа до выхода и соединенными с кольцевой канавкой. Предложенная конструкция сатуратора обеспечивает его эффективную работу в изменяющихся погодно-климатических условиях. 2 ил.

Дирекция сайта "Промышленная Сибирь"
Россия, г.Омск, ул.Учебная, 199-Б, к.408А
Сайт открыт 01.11.2000
© 2000-2018 Промышленная Сибирь
Разработка дизайна сайта:
Дизайн-студия "RayStudio"