Промышленная Сибирь Ярмарка Сибири Промышленность СФО Электронные торги НОУ-ХАУ Электронные магазины Карта сайта
 
 

Поиск патентов

Как искать?
Реферат
Название
Публикация
Регистрационный номер
Имя заявителя
Имя изобретателя
Имя патентообладателя

    





Оформить заказ и задать интересующие Вас вопросы Вы можете напрямую c 6-00 до 14-30 по московскому времени кроме сб, вс. whatsapp 8-950-950-9888

На данной странице представлена ознакомительная часть выбранного Вами патента

Для получения более подробной информации о патенте (полное описание, формула изобретения и т.д.) Вам необходимо сделать заказ. Нажмите на «Корзину»


ПАТРОННЫЙ ФИЛЬТР

Номер публикации патента: 2441920

Вид документа: C2 
Страна публикации: RU 
Рег. номер заявки: 2010113735/13 
  Сделать заказПолучить полное описание патента

Редакция МПК: 
Основные коды МПК: C13B020/16    
Аналоги изобретения: UA 38321 U, 25.12.2008. АЗРИЛЕВИЧ М.Я. Каталог специального оборудования для сахарных заводов. - М.: Издательский комплекс МГУПП, 2007, с.78. СИЛИН П.М. Технология сахара. Издательство Пищевая промышленность. - М., 1967, с.260-262. ГЕРЧИКОВ И.З., ЛАЖЕ Я.Я., СЕМЕНЦОВ Ю.Н. Патронные фильтры для контрольной фильтрации соков и сиропа. - Сахарная промышленность, 1970, 9, с.18-20. 

Имя заявителя: Общество с ограниченной ответственностью Инжиниринговая Компания "Новые технологии в промышленности" (RU) 
Изобретатели: Филатов Сергей Леонидович (RU)
Королев Николай Николаевич (RU)
Петров Сергей Михайлович (RU)
Шостаковский Антон Владимирович (UA)
Мелашенко Юрий Дмитриевич (UA)
Шурбованый Владимир Николаевич (UA) 
Патентообладатели: Общество с ограниченной ответственностью Инжиниринговая Компания "Новые технологии в промышленности" (RU) 

Реферат


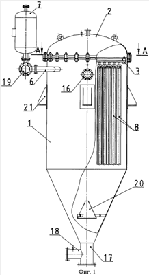
Изобретение относится к технике фильтрования в сахарной промышленности соков I и II сатурации, фильтрования сиропа, а именно к патронным фильтрам, предназначенным для очистки жидкости от механических примесей. Патронный фильтр включает вертикальный цилиндрический корпус с конической нижней частью и крышкой, установленные внутри корпуса вертикально параллельными рядами фильтровальные патроны, консольно прикрепленные верхней частью к размещенным под крышкой коллекторным трубкам, и имеющие в поперечном сечении центральные участки в форме эллипса и радиально расположенные относительно вертикальной оси патрона периферийные участки и закрепленную снаружи на патронах фильтровальную ткань. Коллекторные трубки присоединены к патрубкам отвода фильтрата, которые подключены к закрепленному на корпусе ресиверу для сжатого воздуха. Корпус снабжен руками для подвода жидкости, декомпрессии и выгрузки осадка, расположенным в его верхней части прижимным устройством для вертикальной фиксации патронов, содержащим горизонтально и поперечно расположенные относительно рядов фильтровальных патронов траверсы. Радиально расположенные периферийные участки каждого фильтровального патрона образуют сужающиеся каналы. В зоне между центральным и периферийными участками поверхность патрона изогнута внутрь патрона, а фильтровальная ткань закреплена на поверхности патронов с возможностью ее перемещения относительно наружной поверхности указанных участков для ее очистки от осадка. Поверхность радиально расположенных периферийных участков фильтровальных патронов следует выполнять волнообразной. Изобретение обеспечивает повышение производительности фильтра, повышение эффективности очистки фильтровальной ткани, уменьшение вибрации фильтровальных патронов при импульсном подводе в них сжатого воздуха и увеличение удельной площади фильтрации аппарата. 1 з.п. ф-лы, 8 ил.

Дирекция сайта "Промышленная Сибирь"
Россия, г.Омск, ул.Учебная, 199-Б, к.408А
Сайт открыт 01.11.2000
© 2000-2018 Промышленная Сибирь
Разработка дизайна сайта:
Дизайн-студия "RayStudio"