Промышленная Сибирь Ярмарка Сибири Промышленность СФО Электронные торги НОУ-ХАУ Электронные магазины Карта сайта
 
 

Поиск патентов

Как искать?
Реферат
Название
Публикация
Регистрационный номер
Имя заявителя
Имя изобретателя
Имя патентообладателя

    





Оформить заказ и задать интересующие Вас вопросы Вы можете напрямую c 6-00 до 14-30 по московскому времени кроме сб, вс. whatsapp 8-950-950-9888

На данной странице представлена ознакомительная часть выбранного Вами патента

Для получения более подробной информации о патенте (полное описание, формула изобретения и т.д.) Вам необходимо сделать заказ. Нажмите на «Корзину»


САТУРАТОР ДЛЯ СВЕКЛОСАХАРНОГО ПРОИЗВОДСТВА

Номер публикации патента: 2431677

Вид документа: C1 
Страна публикации: RU 
Рег. номер заявки: 2010107855/13 
  Сделать заказПолучить полное описание патента

Редакция МПК: 
Основные коды МПК: C13B020/04    
Аналоги изобретения: RU 2196830 С1, 20.01.2003. SU 1787166 А3, 07.01.1993. SU 1428766 А1, 07.10.1988. SU 1622401 А1, 23.01.1991. 

Имя заявителя: Государственное образовательное учреждение высшего профессионального образования "Юго-Западный государственный университет" (ЮЗГУ) (RU) 
Изобретатели: Емельянов Сергей Геннадьевич (RU)
Кобелев Николай Сергеевич (RU)
Алябьева Татьяна Васильевна (RU) 
Патентообладатели: Государственное образовательное учреждение высшего профессионального образования "Юго-Западный государственный университет" (ЮЗГУ) (RU) 

Реферат


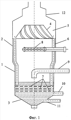
Изобретение относится к сахарному производству и может быть использовано при очистке диффузионного сока и клеровки сахара-сырца. Сатуратор содержит цилиндрический корпус с коническим днищем, снабженный технологическими патрубками и размещенными в его нижней части перфорированными перегородками в виде упругих мембран для диспергирования потока сатурационного газа. В верхней части цилиндрического корпуса расположено устройство для отделения капель сока от сатурационного газа, представляющее собой усеченный конус с продольными винтообразными канавками на внутренней поверхности, прикрепленный большим основанием к стенке цилиндрического корпуса с образованием снаружи полости для сбора выделившихся капель. Она сообщена с полостью цилиндрического корпуса, расположенной под усеченным конусом. В цилиндрическом корпусе диаметрально расположены, по меньшей мере, четыре гибкие сливные трубки, заглушенные на нижнем торце. В стенке каждой трубки по длине выполнены суживающиеся сопла для подвода сока из полости сбора на внутреннюю поверхность цилиндрического корпуса и образования на ней пленки жидкости. Винтообразные канавки имеют профиль в виде «ласточкина хвоста». Корпус устройства для отделения капель сока в виде усеченного конуса выполнен из биметалла. Материал внутренней поверхности с винтообразными канавками имеет коэффициент теплопроводности в 1,5-2,0 раза выше, чем коэффициент теплопроводности материала внешней поверхности. Изобретение обеспечивает повышение эффективности процесса сатурации путем поддержания нормированных теплофизических параметров массообмена на поверхности усеченного конуса. 4 ил.

Дирекция сайта "Промышленная Сибирь"
Россия, г.Омск, ул.Учебная, 199-Б, к.408А
Сайт открыт 01.11.2000
© 2000-2018 Промышленная Сибирь
Разработка дизайна сайта:
Дизайн-студия "RayStudio"