Промышленная Сибирь Ярмарка Сибири Промышленность СФО Электронные торги НОУ-ХАУ Электронные магазины Карта сайта
 
 

Поиск патентов

Как искать?
Реферат
Название
Публикация
Регистрационный номер
Имя заявителя
Имя изобретателя
Имя патентообладателя

    





Оформить заказ и задать интересующие Вас вопросы Вы можете напрямую c 6-00 до 14-30 по московскому времени кроме сб, вс. whatsapp 8-950-950-9888

На данной странице представлена ознакомительная часть выбранного Вами патента

Для получения более подробной информации о патенте (полное описание, формула изобретения и т.д.) Вам необходимо сделать заказ. Нажмите на «Корзину»


УСТРОЙСТВО ДЛЯ МИКРОПРОСЕИВАНИЯ ВЕНОЗНОЙ КРОВИ

Номер публикации патента: 2414710

Вид документа: C1 
Страна публикации: RU 
Рег. номер заявки: 2009141746/15 
  Сделать заказПолучить полное описание патента

Редакция МПК: 
Основные коды МПК: G01N033/49   C12M003/06    
Аналоги изобретения: NAGRATH S., SEQUIST LV. et al. Isolation of rare circulating tumour cells in cancer patients by microchip technology. Nature. 450, 1235-1239, 20.12.2007. FR 2926091 A1, 10.07.2009. RU 2153389 C1, 27.07.2000. JP 62045305 A, 27.02.1987. 

Имя заявителя: Чимитов Анатолий Агванович (RU) 
Изобретатели: Чимитов Анатолий Агванович (RU)
Рязанцева Наталья Владимировна (RU)
Дамбаев Георгий Цыренович (RU)
Перинов Александр Петрович (RU)
Ханхашанова Тамара Дмитриевна (RU)
Медведев Владимир Игоревич (RU) 
Патентообладатели: Чимитов Анатолий Агванович (RU) 

Реферат


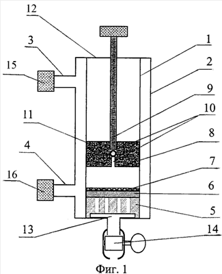
Изобретение относится к медицине и может быть использовано в лабораторных методах исследования при диагностике злокачественных новообразований. Устройство для фильтрации венозной крови содержит стеклянный градуированный цилиндр 1 с входным отверстием 12 для подачи венозной крови и выходным отверстием 13 для оттока венозной крови, заключенный в прозрачный пластиковый кожух 2 с двумя трубками 3 и 4. Нижняя трубка 4 предназначена для подачи в кожух 2 подогретой до +36С° воды, а верхняя трубка 3 - для выхода воздуха из кожуха 2. На дне стеклянного градуированного цилиндра 1 расположена пластмассовая решетка 5, на которой с помощью металлического кольца 6 закреплен калиброванный фильтр 7 с диаметром пор, равным 5 мкм. Внутри цилиндра 1 установлен поршень 8 со штоком 9, в поршне выполнены два разных по диаметру канала 10, на стыке которых расположен металлический шарик 11 для выпуска воздуха из цилиндра 1. Изобретение обеспечивает ускорение результата исследования венозной крови при сохранении точности определения раковых клеток в крови, а также упрощение устройства для его проведения. 3 ил.

Дирекция сайта "Промышленная Сибирь"
Россия, г.Омск, ул.Учебная, 199-Б, к.408А
Сайт открыт 01.11.2000
© 2000-2018 Промышленная Сибирь
Разработка дизайна сайта:
Дизайн-студия "RayStudio"