Промышленная Сибирь Ярмарка Сибири Промышленность СФО Электронные торги НОУ-ХАУ Электронные магазины Карта сайта
 
 

Поиск патентов

Как искать?
Реферат
Название
Публикация
Регистрационный номер
Имя заявителя
Имя изобретателя
Имя патентообладателя

    





Оформить заказ и задать интересующие Вас вопросы Вы можете напрямую c 6-00 до 14-30 по московскому времени кроме сб, вс. whatsapp 8-950-950-9888

На данной странице представлена ознакомительная часть выбранного Вами патента

Для получения более подробной информации о патенте (полное описание, формула изобретения и т.д.) Вам необходимо сделать заказ. Нажмите на «Корзину»


СПОСОБ БИОЛОГИЧЕСКОГО ОБЕЗВРЕЖИВАНИЯ ЖИДКИХ УГЛЕВОДОРОДСОДЕРЖАЩИХ ОТХОДОВ И УСТРОЙСТВО ДЛЯ ЕГО ОСУЩЕСТВЛЕНИЯ

Номер публикации патента: 2465218

Вид документа: C1 
Страна публикации: RU 
Рег. номер заявки: 2011124725/10 
  Сделать заказПолучить полное описание патента

Редакция МПК: 
Основные коды МПК: C02F003/34   C12N001/26   C12M001/02    
Аналоги изобретения: RU 2067993 С1, 20.10.1996. SU 1816394 A3, 27.12.1995. RU 2196902 С1, 20.01.2003. SU 1349241 А1, 27.11.1995. US 628067, А1, 04.07.1899. 

Имя заявителя: Открытое акционерное общество "Газпром" (RU) 
Изобретатели: Ишков Александр Гаврилович (RU)
Акопова Грета Семеновна (RU)
Листов Евгений Леонидович (RU)
Тетеревлев Роман Викторович (RU) 
Патентообладатели: Открытое акционерное общество "Газпром" (RU) 

Реферат


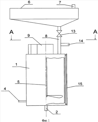
Группа изобретений относится к биотехнологии. Предложен способ биологического обезвреживания жидких углеводородсодержащих отходов, образовавшихся при очистке природного газа и полостей магистральных газопроводов. Вводят в жидкие углеводородсодержащие отходы биопрепарат углеводородокисляющих микроорганизмов, из расчета 1 кг биопрепарата на 10 кг углеводородов. Одновременно добавляют в рабочую емкость для получения рабочей суспензии воду при объемном соотношении отходов к воде от 1:4 до 1:50, в зависимости от начальной концентрации углеводородов. Затем добавляют макроэлементы, микроэлементы и, при необходимости, регулятор кислотности. Осуществляют обезвреживание от 12 ч до 15 ч с постоянным перемешиванием и подачей воздуха. Контролируют и поддерживают температуру от 28°С до 36°С и рН от 4 до 7. Далее осуществляют слив продукта обезвреживания из рабочей емкости, при этом оставляют в рабочей емкости не менее 25% объема рабочей суспензии. После чего повторяют весь цикл обезвреживания. Второй и последующие циклы обезвреживания осуществляют без добавления биопрепарата. Также предложено устройство для биологического обезвреживания жидких углеводородсодержащих отходов, образовавшихся при очистке природного газа и полостей магистральных газопроводов. Устройство включает рабочую емкость с технологическими патрубками, мешалку и расходную емкость, установленную над рабочей емкостью и сообщенную через соединительный трубопровод с ней. Мешалка оснащена электрическим приводом и закреплена с возможностью вращения вокруг вертикальной оси. Рабочая емкость оснащена уровнемером, загрузочным бункером для биопрепарата, емкостью для микро- и макроэлементов, емкостью для регулятора кислотности и встроенным теплообменником. Соединительный трубопровод снабжен запорным устройством и патрубком для подачи воды. Техническим результатом является сокращение времени и повышение эффективности процесса обезвреживания, расширение области применения способа и устройства. 2 н. и 2 з.п. ф-лы, 2 ил., 1 табл.

Дирекция сайта "Промышленная Сибирь"
Россия, г.Омск, ул.Учебная, 199-Б, к.408А
Сайт открыт 01.11.2000
© 2000-2018 Промышленная Сибирь
Разработка дизайна сайта:
Дизайн-студия "RayStudio"