Промышленная Сибирь Ярмарка Сибири Промышленность СФО Электронные торги НОУ-ХАУ Электронные магазины Карта сайта
 
 

Поиск патентов

Как искать?
Реферат
Название
Публикация
Регистрационный номер
Имя заявителя
Имя изобретателя
Имя патентообладателя

    





Оформить заказ и задать интересующие Вас вопросы Вы можете напрямую c 6-00 до 14-30 по московскому времени кроме сб, вс. whatsapp 8-950-950-9888

На данной странице представлена ознакомительная часть выбранного Вами патента

Для получения более подробной информации о патенте (полное описание, формула изобретения и т.д.) Вам необходимо сделать заказ. Нажмите на «Корзину»


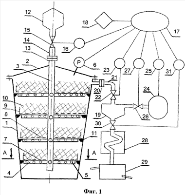
ИМПУЛЬСНЫЙ АППАРАТ ДЛЯ ПЕРЕРАБОТКИ ЭФИРОМАСЛИЧНОГО СЫРЬЯ

Номер публикации патента: 2465308

Вид документа: C1 
Страна публикации: RU 
Рег. номер заявки: 2011120642/13 
  Сделать заказПолучить полное описание патента

Редакция МПК: 
Основные коды МПК: C11B009/00    
Аналоги изобретения: RU 2393208 C1, 27.06.2010. RU 93032418 A, 27.03.1997. SU 272464 A1, 01.01.1970. 

Имя заявителя: Федеральное государственное образовательное учреждение высшего профессионального образования "Красноярский государственный аграрный университет" (RU) 
Изобретатели: Самойлов Владимир Александрович (RU)
Невзоров Виктор Николаевич (RU)
Невзорова Татьяна Викторовна (RU)
Ярум Андрей Иванович (RU) 
Патентообладатели: Федеральное государственное образовательное учреждение высшего профессионального образования "Красноярский государственный аграрный университет" (RU) 

Реферат


Изобретение относится к пищевой промышленности. Импульсный аппарат для переработки эфиромасличного сырья содержит герметичный контейнер, выполненный в виде усеченного конуса, парогенератор, вакуумный насос, промежуточную емкость, паропроводы, холодильник и флорентину, при этом промежуточная емкость снабжена на входе и выходе запорными клапанами, через которые соединена с герметичным контейнером, вакуумным насосом и холодильником, а парогенератор через запорный клапан соединен с герметичным контейнером, который имеет датчик давления, причем датчик давления и приводы запорных клапанов парогенератора, вакуумного насоса и промежуточной емкости соединены с блоком управления, снабженным источником энергии. Изобретение позволяет повысить производительность и сократить продолжительность технологического процесса. 2 ил.

Дирекция сайта "Промышленная Сибирь"
Россия, г.Омск, ул.Учебная, 199-Б, к.408А
Сайт открыт 01.11.2000
© 2000-2018 Промышленная Сибирь
Разработка дизайна сайта:
Дизайн-студия "RayStudio"