Промышленная Сибирь Ярмарка Сибири Промышленность СФО Электронные торги НОУ-ХАУ Электронные магазины Карта сайта
 
 

Поиск патентов

Как искать?
Реферат
Название
Публикация
Регистрационный номер
Имя заявителя
Имя изобретателя
Имя патентообладателя

    





Оформить заказ и задать интересующие Вас вопросы Вы можете напрямую c 6-00 до 14-30 по московскому времени кроме сб, вс. whatsapp 8-950-950-9888

На данной странице представлена ознакомительная часть выбранного Вами патента

Для получения более подробной информации о патенте (полное описание, формула изобретения и т.д.) Вам необходимо сделать заказ. Нажмите на «Корзину»


СПОСОБ ТЕРМООКИСЛИТЕЛЬНОГО КОКСОВАНИЯ И УСТРОЙСТВО ДЛЯ ЕГО ОСУЩЕСТВЛЕНИЯ

Номер публикации патента: 2413748

Вид документа: C1 
Страна публикации: RU 
Рег. номер заявки: 2009134926/05 
  Сделать заказПолучить полное описание патента

Редакция МПК: 
Основные коды МПК: C10B039/02   C10B049/02    
Аналоги изобретения: RU 2359006 C1, 20.06.2009. SU 966109 A1, 15.10.1982. RU 2054447 C1, 20.02.1996. JP 06-184541 A, 05.07.1994. СЫСКОВ К.И., МАШЕНКОВ О.Н. Термоокислительное коксование углей. - М.: Металлургия, 1973, с.150-151, рис.56. 

Имя заявителя: Закрытое акционерное общество "Управляющая компания "НКА-Холдинг" (RU) 
Изобретатели: Стахеев Сергей Георгиевич (RU)
Посохов Михаил Юрьевич (RU)
Стуков Михаил Иванович (RU)
Загайнов Владимир Семенович (RU)
Литвин Евгений Михайлович (RU) 
Патентообладатели: Закрытое акционерное общество "Управляющая компания "НКА-Холдинг" (RU) 

Реферат


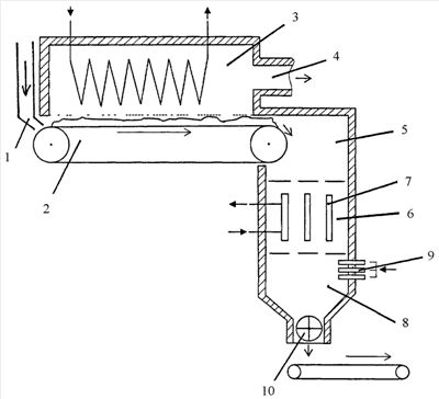
Изобретение может быть использовано в в коксохимической промышленности. Углеродсодержащее сырье нагревают в присутствии кислорода в камере 3 термоокислительного коксования. Кокс из камеры 3 термоокислительного коксования направляют в узел охлаждения продукта, выполненного в виде термоизолированного бункера, содержащего зону изотермической выдержки продукта 5, зону сухого тушения продукта 6 и зону испарительного тушения продукта 8. Изотермическую выдержку продукта осуществляют ври температуре 700-1200°С, а сухое охлаждение - при температуре 400-700°С. Изобретение позволяет повысить качество получаемого кокса за счет выравнивания его свойств по объему кусков кокса и за счет повышения механической прочности кокса, 2 н. и 4 з.п. ф-лы, 1 ил.

Дирекция сайта "Промышленная Сибирь"
Россия, г.Омск, ул.Учебная, 199-Б, к.408А
Сайт открыт 01.11.2000
© 2000-2018 Промышленная Сибирь
Разработка дизайна сайта:
Дизайн-студия "RayStudio"