Промышленная Сибирь Ярмарка Сибири Промышленность СФО Электронные торги НОУ-ХАУ Электронные магазины Карта сайта
 
 

Поиск патентов

Как искать?
Реферат
Название
Публикация
Регистрационный номер
Имя заявителя
Имя изобретателя
Имя патентообладателя

    





Оформить заказ и задать интересующие Вас вопросы Вы можете напрямую c 6-00 до 14-30 по московскому времени кроме сб, вс. whatsapp 8-950-950-9888

На данной странице представлена ознакомительная часть выбранного Вами патента

Для получения более подробной информации о патенте (полное описание, формула изобретения и т.д.) Вам необходимо сделать заказ. Нажмите на «Корзину»


УСТРОЙСТВО ДЛЯ РАЗДЕЛЕНИЯ СУСПЕНЗИЙ, ПРЕИМУЩЕСТВЕННО КРАХМАЛСОДЕРЖАЩИХ

Номер публикации патента: 2389733

Вид документа: C1 
Страна публикации: RU 
Рег. номер заявки: 2008151985/13 
  Сделать заказПолучить полное описание патента

Редакция МПК: 
Основные коды МПК: C08B030/02    
Аналоги изобретения: ШАМБОРАНТ Г.Г. Технологическое оборудование предприятий крахмалопаточной промышленности. - М.: Пищ. пром., 1974, с.35, рис.24. SU 1528775 А1, 15.12.1989. SU 846550 А, 15.07.1981. СОКОЛОВ В.И. Современные промышленные центрифуги. - М.: Машиностроение, 1967, с.382, рис.164. 

Имя заявителя: ГНУ "ВНИИ крахмалопродуктов" Россельхозакадемии (RU) 
Изобретатели: Жуков Валерий Григорьевич (RU)
Костенко Владимир Георгиевич (RU)
Лукин Николай Дмитриевич (RU)
Хорунжева Ольга Евгеньевна (RU) 
Патентообладатели: ГНУ "ВНИИ крахмалопродуктов" Россельхозакадемии (RU) 

Реферат


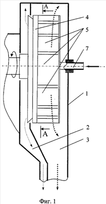
Изобретение относится к пищевой промышленности, в частности крахмалопаточной. Устройство для разделения суспензий включает корпус с приемниками фильтрата и осадка, расположенные в нем ротор, содержащий основание в виде диска и фильтрующие лопасти с каналами для отвода фильтрата, и средство подачи суспензии. Каждая лопасть разделена по длине на секции. Фильтрующая поверхность каждой секции выполнена с участками, расположенными ступенчато один относительно другого. Изобретение обеспечивает повышение степени разделения суспензии и улучшение качества фракции. 4 ил.

Дирекция сайта "Промышленная Сибирь"
Россия, г.Омск, ул.Учебная, 199-Б, к.408А
Сайт открыт 01.11.2000
© 2000-2018 Промышленная Сибирь
Разработка дизайна сайта:
Дизайн-студия "RayStudio"