| 
			
					
			 На данной странице представлена ознакомительная часть выбранного Вами патента 
			
				Для получения более подробной информации о патенте (полное описание, формула изобретения и т.д.) Вам необходимо сделать заказ. Нажмите на «Корзину» 
			
			 
		   | ДВУХСТАДИЙНЫЙ СПОСОБ АЛКИЛИРОВАНИЯ БЕНЗОЛА С ОБРАЗОВАНИЕМ ЛИНЕЙНЫХ АЛКИЛБЕНЗОЛОВ |      |  
 
 Номер публикации патента: 2173677 |   |  
  
	
	 
	
	 
	
| Имя заявителя:  | ХАНТСМЭН ПЕТРОКЕМИКАЛ КОРПОРЕЙШН (US)  |  | Изобретатели:  | Джон Ф. НИФТОН (US) Пракаса Рао АНАНТАНЕНИ (US)  |  | Патентообладатели:  | ХАНТСМЭН ПЕТРОКЕМИКАЛ КОРПОРЕЙШН (US)  |  | Номер конвенционной заявки:  | 08/662,786  |  | Страна приоритета:  | US  |  | Патентный поверенный:  | Лебедева Наталья Георгиевна  |  
	 
	 
Реферат |   |  
 
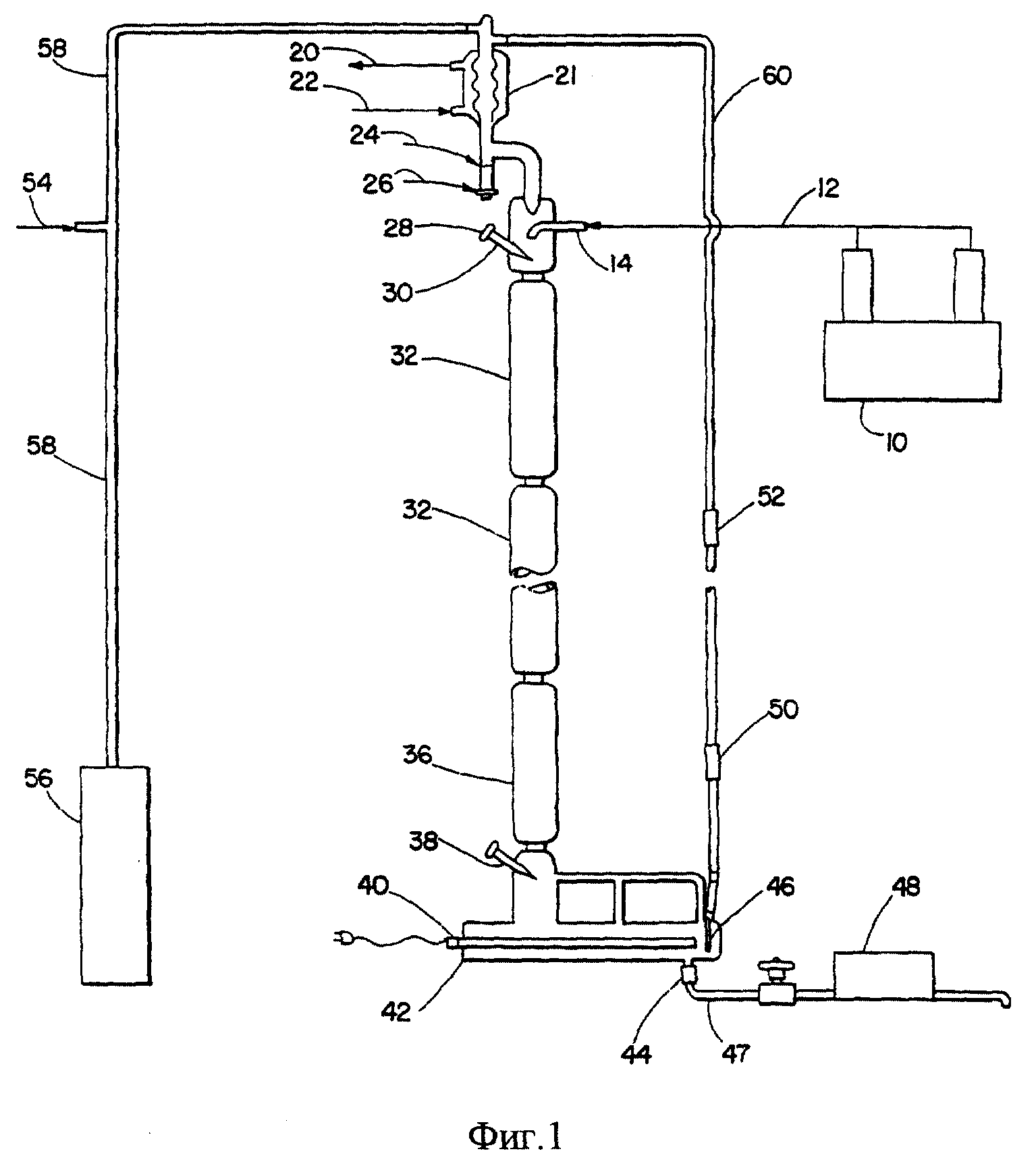
 Описывается способ получения линейного моноалкилированного бензола алкилированием бензола олефином в присутствии фторсодержащего морденита. Отличие способа состоит в том, что он включает стадии: (a) контактирование бензола с олефином, содержащим от около 5 до около 30 атомов углерода, в присутствии морденита, содержащего фтор в интервале от около 0,1 до около 4 мас.%, в таких условиях, что образуется линейный моноалкилбензол; и (b) контактирование продукта стадии (a) с бензолом в присутствии катализатора на основе монтмориллонитовой глины, содержащей фтор от около 0,1 до около 10 мас.%, причем продукт стадии (b) имеет бромное число меньшее, чем бромное число продукта стадии (a). Технический результат - высокая степень превращения олефина, высокая селективность способа, упрощение процесса. 2 с. и 16 з.п. ф-лы, 2 ил., 7 табл.   
		 |