Промышленная Сибирь Ярмарка Сибири Промышленность СФО Электронные торги НОУ-ХАУ Электронные магазины Карта сайта
 
 

Поиск патентов

Как искать?
Реферат
Название
Публикация
Регистрационный номер
Имя заявителя
Имя изобретателя
Имя патентообладателя

    





Оформить заказ и задать интересующие Вас вопросы Вы можете напрямую c 6-00 до 14-30 по московскому времени кроме сб, вс. whatsapp 8-950-950-9888

На данной странице представлена ознакомительная часть выбранного Вами патента

Для получения более подробной информации о патенте (полное описание, формула изобретения и т.д.) Вам необходимо сделать заказ. Нажмите на «Корзину»


СПОСОБ И УСТРОЙСТВО ДЛЯ ОТВОДА РАСПЛАВЛЕННОГО СТЕКЛА ИЗ СЛИВНЫХ КАНАЛОВ

Номер публикации патента: 2382739

Вид документа: C1 
Страна публикации: RU 
Рег. номер заявки: 2008130394/03 
  Сделать заказПолучить полное описание патента

Редакция МПК: 
Основные коды МПК: C03B005/26    
Аналоги изобретения: US 5022910 А, 11.06.1991. SU 716988 А, 17.10.1977. US 4323383 А, 06.04.1982. CA 1143418 A1, 22.03.1983. WO 03018489 A1, 06.03.2003. 

Имя заявителя: БЕТАЙЛИГУНГЕН ЗОРГ ГМБХ УНД КО. КГ (DE) 
Изобретатели: ГРЁСЛЕР Юрген (DE) 
Патентообладатели: БЕТАЙЛИГУНГЕН ЗОРГ ГМБХ УНД КО. КГ (DE) 
Приоритетные данные: 07.12.2006 DE 102006058044.3 

Реферат


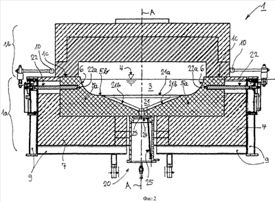
Изобретение относится к способу и устройству для отвода расплавленного стекла из сливных каналов, ведущих к месту отбора производственного стекла. Технический результат изобретения заключается в выведении электродов из контакта со стекломассой с сохранением воздействия на ее температурный профиль внутри поперечного сечения потока расплавленного стекла. Из стекловаренной печи стекломасса поступает к месту отбора производственного стекла по сливному каналу (1). Перед местом отбора производственного стекла расположено дренажное устройство (20) для донного стекла. Внутренняя облицовка (5а), по меньшей мере, в области дренажного устройства (20) состоит из литого электропроводного минерального материала из группы AZS- и ZAC-соединений. Во внутренней облицовке (5а) расположено дренажное отверстие (23) для донного стекла и над этим дренажным отверстием (23) дренажный зазор (21), проходящий поперек направления слива. На противоположных сторонах сливного канала (1) и дренажного устройства (20) для донного слоя стекла расположены, по меньшей мере, два электрода (22), выполненные в виде стержней и введенные своими торцевыми поверхностями (22а) во внутреннюю облицовку (5а) в направлении расплавленного стекла (3). Преобладающая часть проходящего тока направляется через расплавленное стекло (3) и достигает таким путем электродной пластины (24), которая расположена ниже дренажного отверстия (23). 2 н. и 7 з.п. ф-лы, 6 ил.

Дирекция сайта "Промышленная Сибирь"
Россия, г.Омск, ул.Учебная, 199-Б, к.408А
Сайт открыт 01.11.2000
© 2000-2018 Промышленная Сибирь
Разработка дизайна сайта:
Дизайн-студия "RayStudio"