Промышленная Сибирь Ярмарка Сибири Промышленность СФО Электронные торги НОУ-ХАУ Электронные магазины Карта сайта
 
 

Поиск патентов

Как искать?
Реферат
Название
Публикация
Регистрационный номер
Имя заявителя
Имя изобретателя
Имя патентообладателя

    





Оформить заказ и задать интересующие Вас вопросы Вы можете напрямую c 6-00 до 14-30 по московскому времени кроме сб, вс. whatsapp 8-950-950-9888

На данной странице представлена ознакомительная часть выбранного Вами патента

Для получения более подробной информации о патенте (полное описание, формула изобретения и т.д.) Вам необходимо сделать заказ. Нажмите на «Корзину»


ВЕТРОВОЙ ОПРЕСНИТЕЛЬ

Номер публикации патента: 2436737

Вид документа: C2 
Страна публикации: RU 
Рег. номер заявки: 2008113890/05 
  Сделать заказПолучить полное описание патента

Редакция МПК: 
Основные коды МПК: C02F001/74    
Аналоги изобретения: SU 1399602 A1, 30.05.1988. SU 1761682 A1, 15.09.1992. SU 1370097 A1, 30.01.1988. CN 101066784 (A), 07.11.2007. UA 27192 (U), 25.10.2007. 

Имя заявителя: ОБЛАСТНОЕ ГОСУДАРСТВЕННОЕ ОБРАЗОВАТЕЛЬНОЕ УЧРЕЖДЕНИЕ ВЫСШЕГО ПРОФЕССИОНАЛЬНОГО ОБРАЗОВАНИЯ "АСТРАХАНСКИЙ ИНЖЕНЕРНО-СТРОИТЕЛЬНЫЙ ИНСТИТУТ" (АИСИ) (RU),
Ануфриев Дмитрий Петрович (RU) 
Изобретатели: Боронина Людмила Владимировна (RU)
Абуова Галина Бекмуратовна (RU)
Избеков Юрий Геннадьевич (RU) 
Патентообладатели: ОБЛАСТНОЕ ГОСУДАРСТВЕННОЕ ОБРАЗОВАТЕЛЬНОЕ УЧРЕЖДЕНИЕ ВЫСШЕГО ПРОФЕССИОНАЛЬНОГО ОБРАЗОВАНИЯ "АСТРАХАНСКИЙ ИНЖЕНЕРНО-СТРОИТЕЛЬНЫЙ ИНСТИТУТ" (АИСИ) (RU)
Ануфриев Дмитрий Петрович (RU) 

Реферат


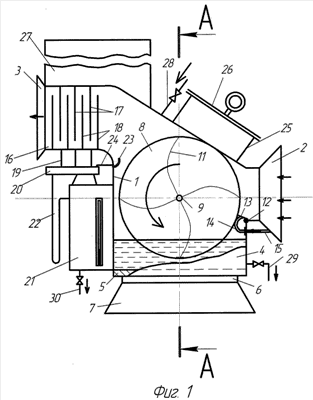
Изобретение относится к обработке воды и может быть использовано для производства пресной воды из морских и соленых (минерализованных) континентальных вод. Ветровой опреснитель содержит вращающийся корпус 1 с входным 2 и выходным 3 воздушными патрубками и емкость 4 с соленой водой, размещенную внизу корпуса 1, днище 5 которой через подшипник 6 связано со станиной 7, вращающиеся диски 8, частично погруженные в воду. С обеих сторон к дискам 8 прикреплены пластины 11 S-образной формы. На правом участке емкости 4, на шарнире 12, установлена продольная пластина 13, снизу контактирующая с пневмобаллоном 14, закрепленым в стене емкости 4 и через трубку 15 соединенным пневматически с входным патрубком 2. В выходном патрубке 3, размещенном выше входного патрубка 2, с левой стороны корпуса 1, на 0,7-1,0 диаметра дисков 8, установлены влагосборные камеры 16, образованные вертикальными перегородками 17, прикрепленными к верхней части патрубка 3, и вертикальными перегородками 18, прикрепленными к нижней части патрубка 3. Камеры 16 через трубки 19 гидравлически сообщены со сборником пресной воды 20, установленным на емкости сбора пресной воды 21, которая прикреплена сбоку к емкости 4, сообщены между собой гидрозатвором 22. Желоб 23, прикрепленный к левой внутренней стенке корпуса 1, через трубку 24 гидравлически сообщен со сборником 20. Сверху корпуса 1 установлен лаз 25 с крышкой 26 и прикреплен флюгер 27. Патрубки 2 и 3, верхняя часть корпуса 1, лаз 25 и крышка 26 покрываются краской черного цвета. Изобретение позволяет упростить конструкцию и использовать энергию солнца и ветра. 2 з.п. ф-лы, 3 ил.

Дирекция сайта "Промышленная Сибирь"
Россия, г.Омск, ул.Учебная, 199-Б, к.408А
Сайт открыт 01.11.2000
© 2000-2018 Промышленная Сибирь
Разработка дизайна сайта:
Дизайн-студия "RayStudio"