Промышленная Сибирь Ярмарка Сибири Промышленность СФО Электронные торги НОУ-ХАУ Электронные магазины Карта сайта
 
 

Поиск патентов

Как искать?
Реферат
Название
Публикация
Регистрационный номер
Имя заявителя
Имя изобретателя
Имя патентообладателя

    





Оформить заказ и задать интересующие Вас вопросы Вы можете напрямую c 6-00 до 14-30 по московскому времени кроме сб, вс. whatsapp 8-950-950-9888

На данной странице представлена ознакомительная часть выбранного Вами патента

Для получения более подробной информации о патенте (полное описание, формула изобретения и т.д.) Вам необходимо сделать заказ. Нажмите на «Корзину»


АВТОМАТИЗИРОВАННАЯ СИСТЕМА ВОДОПОДГОТОВКИ

Номер публикации патента: 2377193

Вид документа: C2 
Страна публикации: RU 
Рег. номер заявки: 2007136415/15 
  Сделать заказПолучить полное описание патента

Редакция МПК: 
Основные коды МПК: C02F009/00    
Аналоги изобретения: US 6183637 B1, 06.02.2001. EP 0464321 A1, 08.01.1992. RU 2258045 C1, 10.08.2005. RU 56893 U1, 27.09.2006. RU 2170606 C1, 20.07.2001. 

Имя заявителя: Российская Федерация, от имени которой выступает государственный заказчик - Государственная корпорация по атомной энергии "Росатом" (RU),
Федеральное государственное унитарное предприятие "Российский федеральный ядерный центр - Всероссийский научно-исследовательский институт экспериментальной физики" - ФГУП "РФЯЦ-ВНИИЭФ" (RU) 
Изобретатели: Антонович Валентина Борисовна (RU)
Волков Михаил Валерьевич (RU)
Мысков Геннадий Алексеевич (RU)
Рыбин Александр Валерьевич (RU)
Хвостов Владислав Витальевич (RU) 
Патентообладатели: Российская Федерация, от имени которой выступает государственный заказчик - Государственная корпорация по атомной энергии "Росатом" (RU)
Федеральное государственное унитарное предприятие "Российский федеральный ядерный центр - Всероссийский научно-исследовательский институт экспериментальной физики" - ФГУП "РФЯЦ-ВНИИЭФ" (RU) 

Реферат


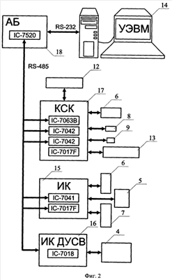
Изобретение относится к области многоступенчатой очистки воды с автоматизированной системой управления и контроля для использования сверхчистой воды с удельным электрическим сопротивлением до 18 МОм·см, например, в качестве жидкого диэлектрика в ускорительных комплексах. В автоматизированной системе водоподготовки программно-логическое устройство в виде управляющей ЭВМ соединено с конструктивно разделенными, по меньшей мере, двумя измерительными контроллерами и контроллером силовой коммутации. Один из измерительных контроллеров осуществляет сбор информации с датчиков давления, уровня и разряжения. Другой осуществляет контроль удельного сопротивления воды, а контроллер силовой коммутации осуществляет управление исполнительными механизмами, которыми являются насосы, электромагнитные клапаны и шаровые краны с электрическими приводами. Технический результат: увеличение производительности до 6 м3/ч, облегчение труда оператора, блокирование его возможных ошибочных действий, снижение экономического ущерба в результате аварий. 3 ил.

Дирекция сайта "Промышленная Сибирь"
Россия, г.Омск, ул.Учебная, 199-Б, к.408А
Сайт открыт 01.11.2000
© 2000-2018 Промышленная Сибирь
Разработка дизайна сайта:
Дизайн-студия "RayStudio"