Промышленная Сибирь Ярмарка Сибири Промышленность СФО Электронные торги НОУ-ХАУ Электронные магазины Карта сайта
 
 

Поиск патентов

Как искать?
Реферат
Название
Публикация
Регистрационный номер
Имя заявителя
Имя изобретателя
Имя патентообладателя

    





Оформить заказ и задать интересующие Вас вопросы Вы можете напрямую c 6-00 до 14-30 по московскому времени кроме сб, вс. whatsapp 8-950-950-9888

На данной странице представлена ознакомительная часть выбранного Вами патента

Для получения более подробной информации о патенте (полное описание, формула изобретения и т.д.) Вам необходимо сделать заказ. Нажмите на «Корзину»


ТЕХНОЛОГИЧЕСКИЙ КАСКАД ДЛЯ РАЗДЕЛЕНИЯ И ОБОГАЩЕНИЯ ТЕТРАФТОРИДОВ ЦИРКОНИЯ И ГАФНИЯ

Номер публикации патента: 2434957

Вид документа: C2 
Страна публикации: RU 
Рег. номер заявки: 2010104646/02 
  Сделать заказПолучить полное описание патента

Редакция МПК: 
Основные коды МПК: C22B034/14   C01G025/04   C01G027/04    
Аналоги изобретения: ОЖЕРЕЛЬЕВ О.А. и др. Физико-химическая модель сублимационной очистки фторидов титана, циркония, гафния от 3d-переходных металлов. Научная сессия МИФИ-2004 ч.2, III Научно-техническая конференция «Научно-техническая конференция «Научно-инновационное сотрудничество», МИФИ. - М., 2004, с.57-58. RU 2329951 С2, 20.01.2008. SU 1840498 A1, 27.03.2007. EP 00445270 A1, 03.02.1982. GB 1381117 A, 22.01.1975. 

Имя заявителя: Буйновский Александр Сергеевич (RU),
Русаков Игорь Юрьевич (RU),
Софронов Владимир Леонидович (RU),
Сидоров Евгений Владимирович (RU) 
Изобретатели: Буйновский Александр Сергеевич (RU)
Русаков Игорь Юрьевич (RU)
Софронов Владимир Леонидович (RU)
Сидоров Евгений Владимирович (RU) 
Патентообладатели: Буйновский Александр Сергеевич (RU)
Русаков Игорь Юрьевич (RU)
Софронов Владимир Леонидович (RU)
Сидоров Евгений Владимирович (RU) 

Реферат


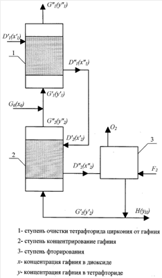
Изобретение относится к химической технологии редких и тугоплавких металлов, а именно к технологии очистки циркония от гафния. Каскад содержит последовательно соединенные сублимационные аппараты. При этом первый сублимационный аппарат для очистки тетрафторида циркония от гафния выполнен с насадкой из диоксида циркония с начальным содержанием гафния в ней не более 0,08%. Второй сублимационный аппарат для концентрирования гафния выполнен с насадкой, поступившей из первого сублимационного аппарата. Затем установлен аппарат для фторирования, выполненный с поступившей из второго сублимационного аппарата насадкой в виде диоксида гафния, при этом часть насадки из аппарата фторирования возвращается во второй сублимационный аппарат, а другая часть насадки является готовым продуктом - концентратом тетрафторида гафния. Техническим результатом является создание технологического каскада для получения ядерно-чистого тетрафторида циркония и тетрафторида гафния с содержанием более 99% за одну ступень разделения при отсутствии технологических отходов и максимальной простоте оборудования. 1 ил., 1 табл.

Дирекция сайта "Промышленная Сибирь"
Россия, г.Омск, ул.Учебная, 199-Б, к.408А
Сайт открыт 01.11.2000
© 2000-2018 Промышленная Сибирь
Разработка дизайна сайта:
Дизайн-студия "RayStudio"