Промышленная Сибирь Ярмарка Сибири Промышленность СФО Электронные торги НОУ-ХАУ Электронные магазины Карта сайта
 
 

Поиск патентов

Как искать?
Реферат
Название
Публикация
Регистрационный номер
Имя заявителя
Имя изобретателя
Имя патентообладателя

    





Оформить заказ и задать интересующие Вас вопросы Вы можете напрямую c 6-00 до 14-30 по московскому времени кроме сб, вс. whatsapp 8-950-950-9888

На данной странице представлена ознакомительная часть выбранного Вами патента

Для получения более подробной информации о патенте (полное описание, формула изобретения и т.д.) Вам необходимо сделать заказ. Нажмите на «Корзину»


СПОСОБ И УСТАНОВКА ДЛЯ НАГРЕВАНИЯ И ЧАСТИЧНОГО ОКИСЛЕНИЯ СМЕСИ ПАРА И ПРИРОДНОГО ГАЗА ПОСЛЕ ПЕРВИЧНОГО РИФОРМИНГА

Номер публикации патента: 2394766

Вид документа: C2 
Страна публикации: RU 
Рег. номер заявки: 2007145485/15 
  Сделать заказПолучить полное описание патента

Редакция МПК: 
Основные коды МПК: C01C003/02   C01B003/36    
Аналоги изобретения: DE 19921420 A1, 16.11.2000. RU 2235058 C2, 27.08.2004. SU 1828449 A3, 15.07.1993. EP 0876993 A1, 11.11.1998. DE 10232970 Al, 27.02.2003. DE 10239111 A1, 18.03.2004. 

Имя заявителя: УДЕ ГМБХ (DE) 
Изобретатели: ХЕДЕРЕР Хартмут (DE)
ЙОХАННИХ Йоахим (DE)
ГОРВАЛ Евгений (DE) 
Патентообладатели: УДЕ ГМБХ (DE) 
Приоритетные данные: 10.05.2005 DE 102005021500.9 

Реферат


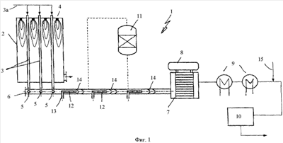
Изобретения относятся к области химии. Способ включает нагревание и частичное окисление не подогретой предварительно, подвергнутой первичному риформингу смеси пара и природного газа для получения NH3-синтез-газа, причем в газовый поток синтез-газа-сырца в направлении потока после первичного риформера подают энергию. Подвод энергии после первичного риформера осуществляют непосредственно через, по меньшей мере, одну, размещенную в газоотводящем канале первичного риформера 2, пористую горелку 12. Установка имеет коллекторный канал 5 труб 3 риформера 2, где между последним входом труб 3 и соединением с транспортирующим каналом 6 и/или в транспортирующем канале 6 установлена, по меньшей мере, одна пористая горелка 12. С каждой пористой горелкой 12 работает совместно неподвижный смеситель 14, в частности, размещенный за ней. Изобретения позволяют исключить необходимость во втором реакторе риформинга, осуществлять широкий диапазон регулирования. 2 н. и 13 з.п. ф-лы, 6 ил.

Дирекция сайта "Промышленная Сибирь"
Россия, г.Омск, ул.Учебная, 199-Б, к.408А
Сайт открыт 01.11.2000
© 2000-2018 Промышленная Сибирь
Разработка дизайна сайта:
Дизайн-студия "RayStudio"