Промышленная Сибирь Ярмарка Сибири Промышленность СФО Электронные торги НОУ-ХАУ Электронные магазины Карта сайта
 
 

Поиск патентов

Как искать?
Реферат
Название
Публикация
Регистрационный номер
Имя заявителя
Имя изобретателя
Имя патентообладателя

    





Оформить заказ и задать интересующие Вас вопросы Вы можете напрямую c 6-00 до 14-30 по московскому времени кроме сб, вс. whatsapp 8-950-950-9888

На данной странице представлена ознакомительная часть выбранного Вами патента

Для получения более подробной информации о патенте (полное описание, формула изобретения и т.д.) Вам необходимо сделать заказ. Нажмите на «Корзину»


УСТРОЙСТВО И СПОСОБ ТЕРМИЧЕСКОГО РАЗЛОЖЕНИЯ ЛЕТУЧИХ СОЕДИНЕНИЙ ЭЛЕМЕНТА, ВЫБРАННОГО ИЗ ГРУППЫ, ВКЛЮЧАЮЩЕЙ КРЕМНИЙ, ГЕРМАНИЙ, УГЛЕРОД, ТИТАН, ЦИРКОНИЙ И ИХ СМЕСИ

Номер публикации патента: 2377065

Вид документа: C2 
Страна публикации: RU 
Рег. номер заявки: 2006123911/15 
  Сделать заказПолучить полное описание патента

Редакция МПК: 
Основные коды МПК: B01J019/24   C01B033/029    
Аналоги изобретения: US 4314525 А, 03.03.1980. RU 2207934 C2, 10.07.2003. RU 2153016 C1, 20.07.2000. US 5514350 A, 07.05.1996. H. WIGGERS et. al. Silicon particle formation by pyrolisis of silane in a hot wall gasphase reactor. Chem. Eng. Technol. 24 (2001) 3, p.261-264. 

Имя заявителя: Дегусса АГ (DE) 
Изобретатели: АДЛЕР Петер (DE)
ПИРЦЛ Вольфганг (DE)
ЗОННЕНШАЙН Раймунд (DE) 
Патентообладатели: Дегусса АГ (DE) 
Приоритетные данные: 06.12.2003 DE 10357091.8 

Реферат


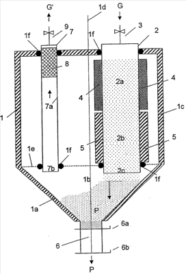
Изобретение может быть использовано для получения пылевидных кремния, германия, углерода, титана, циркония и их смеси, используемых в электронике. Устройство для термического разложения включает сосуд под давлением 1, реакционную трубку 2, открытый конец 2 с которой продолжается в сосуд под давлением 1, а другой конец которой расположен вне его и снабжен средством подачи газа 3. Продольная ось реакционной трубки 2 ориентирована в направлении силы тяжести и параллельна продольной оси 1d сосуда под давлением 1. Реакционная трубка 2 может быть нагрета 2а со стороны впуска газа и охлаждена 2b со стороны выпуска газа. Сосуд под давлением 1 в его нижней части имеет собирающую воронку 1а. Открытый конец 2 с реакционной трубки 2 продолжается в газовое пространство 1b собирающей воронки 1а. Собирающая воронка 1а соединена с выходным затвором 6 для частиц (Р). Узел газоотвода 7 снабжен направляющей для газа 7а. Область 7b впуска газа сообщается с газовым пространством 1b собирающей воронки 1а, фильтрующей системой 8 и газоотводом 9, который расположен вне сосуда под давлением 1. Изобретение позволяет исключить закупоривание трубок реактора и загрязнение целевого продукта. 2 н. и 17 з.п. ф-лы, 1 ил.

Дирекция сайта "Промышленная Сибирь"
Россия, г.Омск, ул.Учебная, 199-Б, к.408А
Сайт открыт 01.11.2000
© 2000-2018 Промышленная Сибирь
Разработка дизайна сайта:
Дизайн-студия "RayStudio"