Промышленная Сибирь Ярмарка Сибири Промышленность СФО Электронные торги НОУ-ХАУ Электронные магазины Карта сайта
 
 

Поиск патентов

Как искать?
Реферат
Название
Публикация
Регистрационный номер
Имя заявителя
Имя изобретателя
Имя патентообладателя

    





Оформить заказ и задать интересующие Вас вопросы Вы можете напрямую c 6-00 до 14-30 по московскому времени кроме сб, вс. whatsapp 8-950-950-9888

На данной странице представлена ознакомительная часть выбранного Вами патента

Для получения более подробной информации о патенте (полное описание, формула изобретения и т.д.) Вам необходимо сделать заказ. Нажмите на «Корзину»


СИСТЕМА ДЛЯ ПОЛУЧЕНИЯ АММИАКА (ВАРИАНТЫ), СПОСОБ ПОЛУЧЕНИЯ АММИАКА И СПОСОБ МОДЕРНИЗАЦИИ СИСТЕМЫ ДЛЯ ПОЛУЧЕНИЯ АММИАКА

Номер публикации патента: 2469953

Вид документа: C2 
Страна публикации: RU 
Рег. номер заявки: 2010126229/05 
  Сделать заказПолучить полное описание патента

Редакция МПК: 
Основные коды МПК: C01C001/04   B01J008/04    
Аналоги изобретения: EP 0253350 A2, 20.01.1988. SU 1058487 A, 13.07.1979. US 7081230 B2, 25.07.2006. US 4298588 A, 03.11.1981. 

Имя заявителя: КЕЛЛОГГ БРАУН ЭНД РУТ ЭлЭлСи (US) 
Изобретатели: СИНГХ Шаши П. (US)
ЦЗИН Юэ (US) 
Патентообладатели: КЕЛЛОГГ БРАУН ЭНД РУТ ЭлЭлСи (US) 
Приоритетные данные: 26.11.2007 US 60/990,207
22.04.2008 US 12/107,506 

Реферат


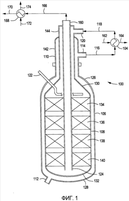
Изобретение может быть использовано в химической промышленности для получения аммиака. Конвертор аммиака может включать первую оболочку (108) с размещенными в ней двумя или более отдельными слоями катализатора (134, 136, 138, 140), вторую оболочку (106), расположенную вокруг первой оболочки. Первый теплообменник (168), размещен снаружи первой оболочки (108) и находится с ней в сообщении по текучей среде (166) через проточный канал (124), размещенный внутри первой оболочки (108). Второй теплообменник (104) размещен снаружи второй оболочки (106) и находится с ней в сообщении по текучей среде (116). Предложенное изобретение позволяет повысить эффективность получения аммиака. 4 н. и 16 з.п. ф-лы, 3 ил.

Дирекция сайта "Промышленная Сибирь"
Россия, г.Омск, ул.Учебная, 199-Б, к.408А
Сайт открыт 01.11.2000
© 2000-2018 Промышленная Сибирь
Разработка дизайна сайта:
Дизайн-студия "RayStudio"