|
На данной странице представлена ознакомительная часть выбранного Вами патента
Для получения более подробной информации о патенте (полное описание, формула изобретения и т.д.) Вам необходимо сделать заказ. Нажмите на «Корзину»
| ПРИСПОСОБЛЕНИЕ ДЛЯ ОТКРЫВАНИЯ БУТЫЛОК, УКУПОРЕННЫХ ПРОБКАМИ |  |
Номер публикации патента: 2171775 |  |
| Имя заявителя: | Камышев Александр Владимирович | | Изобретатели: | Камышев А.В. | | Патентообладатели: | Камышев Александр Владимирович |
Реферат |  |
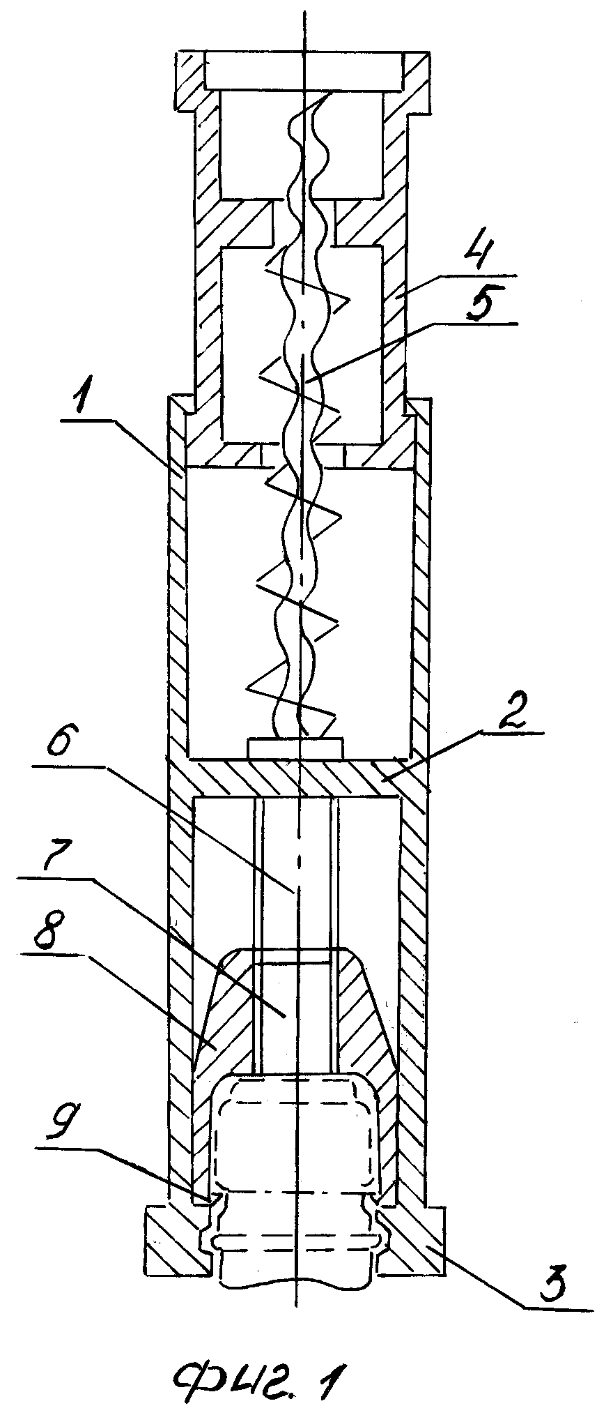
Приспособление для открывания бутылок, укупоренных пробками, относится к принадлежностям для быта, а именно к устройствам для извлечения пробок из бутылок. Приспособление содержит корпус, ручки, опорную раму, поперечную перегородку, на которой закреплен винт для удаления корковой пробки, а также палец, соединенный с элементом зажима и вытягивания пластмассовой пробки со шляпкой. Последний имеет выступы для зацепления с пробкой. Корпус выполнен в виде полого цилиндра. Поперечная перегородка соединена с опорной рамой и элементами для удаления пластмассовой и корковой пробок. Элементы для удаления пробок размещены соосно, но в противоположные стороны друг от друга. Приспособление также снабжено дополнительным опорным элементом, выполненным в виде втулки, имеющей возможность возвратно-поступательного движения, установленной со скольжением в корпусе со стороны винта для удаления корковой пробки. В элементе для удаления пластмассовой пробки в верхней части элемента зажима и вытягивания пробки выполнено резьбовое отверстие для взаимодействия с пальцем. Это позволяет упростить приспособление и обеспечить безопасность работы. 1 з.п.ф-лы, 4 ил.
|