|
На данной странице представлена ознакомительная часть выбранного Вами патента
Для получения более подробной информации о патенте (полное описание, формула изобретения и т.д.) Вам необходимо сделать заказ. Нажмите на «Корзину»
| ГИДРОПРИВОД |  |
Номер публикации патента: 2183187 |  |
| Редакция МПК: | 7 | | Основные коды МПК: | B66F009/04 B66F009/22 B66F003/24 F15B015/16 | | Аналоги изобретения: | SU 1481197 A1, 23.05.1989. SU 1079603 А, 15.03.1984. DE 2507416 A1, 26.08.1976. GB 1310268 А, 14.03.1973. DE 3722269 A1, 19.01.1989. |
| Имя заявителя: | Федеральное государственное унитарное предприятие "Санкт-Петербургское морское бюро машиностроения "Малахит" | | Изобретатели: | Богданов А.С. Вашнев Э.В. | | Патентообладатели: | Федеральное государственное унитарное предприятие "Санкт-Петербургское морское бюро машиностроения "Малахит" |
Реферат |  |
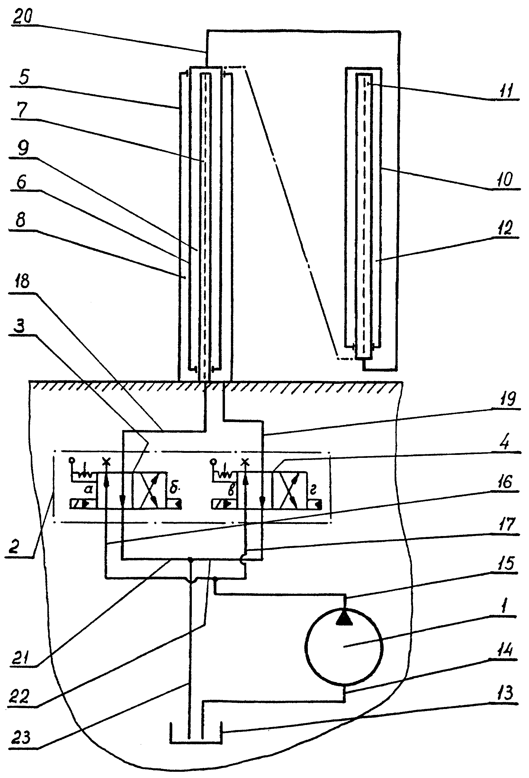
Изобретение относится к гидроприводам, которые могут быть использованы в подъемных устройствах. Гидропривод содержит гидродвигатель одностороннего действия с плунжерной и вспомогательной полостями для выдвижения плунжера и гидродвигатель поступательного действия, имеющий, по крайней мере, одну полость для принудительного перемещения соответственно плунжера, управляемый гидрораспределитель для подключения упомянутых гидродвигателей к напорной и сливной линиям, причем гидродвигатель одностороннего действия снабжен скалкой-трубопроводом. Плунжер гидродвигателя поступательного действия жестко связан с плунжером гидродвигателя одностороннего действия, а плунжерная полость последнего сообщена гидролинией с плунжерной полостью гидродвигателя поступательного действия. Управляемый гидрораспределитель содержит два двухпозиционных распределителя, соединенных соответственно с плунжерной и вспомогательной полостями гидродвигателя одностороннего действия. Изобретение обеспечивает улучшение эксплуатационных характеристик. 1 з.п.ф-лы, 1 ил.
|