Промышленная Сибирь Ярмарка Сибири Промышленность СФО Электронные торги НОУ-ХАУ Электронные магазины Карта сайта
 
 

Поиск патентов

Как искать?
Реферат
Название
Публикация
Регистрационный номер
Имя заявителя
Имя изобретателя
Имя патентообладателя

    





Оформить заказ и задать интересующие Вас вопросы Вы можете напрямую c 6-00 до 14-30 по московскому времени кроме сб, вс. whatsapp 8-950-950-9888

На данной странице представлена ознакомительная часть выбранного Вами патента

Для получения более подробной информации о патенте (полное описание, формула изобретения и т.д.) Вам необходимо сделать заказ. Нажмите на «Корзину»


СПОСОБ УПРАВЛЕНИЯ ТОРМОЗОМ ПОДЪЕМНОЙ МАШИНЫ (ВАРИАНТЫ) И ПОДЪЕМНАЯ МАШИНА

Номер публикации патента: 2460912

Вид документа: C2 
Страна публикации: RU 
Рег. номер заявки: 2007135512/11 
  Сделать заказПолучить полное описание патента

Редакция МПК: 
Основные коды МПК: F16D065/14   B66D005/14   B66B011/00    
Аналоги изобретения: US 2002100646 A1, 01.08.2002. US 5645143 A, 08.07.1997. RU 2018482 C1, 30.08.1994. RU 2019751 C1, 15.09.1994. SU 564467 A, 18.08.1977. 

Имя заявителя: Отис Элевейтэ Кампэни (US) 
Изобретатели: БАРРИО Родольфо Робледо (DE)
ГЕВИННЕР Юрген (DE)
ДЖАННИНИ Джанфранко (DE)
НОР Мухаммад Джеханзеб (US)
ПИХ Збигнев (US)
ХАББАРД Джеймс (US) 
Патентообладатели: Отис Элевейтэ Кампэни (US) 

Реферат


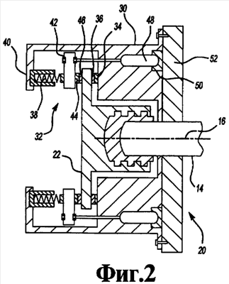
Подъемная машина включает двигатель, который приводит во вращение вал (14) подъемной машины. Тормоз (20) подъемной машины прикладывает тормозящую силу к диску (22), который соединен с валом (14) подъемной машины, для замедления или остановки вращения вала (14) подъемной машины. В одном из вариантов, тормоз (20) подъемной машины включает смещающий элемент (38), который прикладывает смещающее давление к тормозному механизму клещевого типа для приложения тормозящей силы к диску (22). Привод (48) тормоза, имеющий деформируемый материал, перемещается, противодействуя смещающему давлению для управления сцеплением между тормозным механизмом (32) клещевого типа и диском (22). Контроллер управления заданным образом изменяет тормозящую силу, приложенную к диску (22), управляя электрическим входным воздействием на деформируемый материал привода (48) тормоза. Положение тормозного элемента по отношению к вращающейся части определяют с использованием величины выходного сигнала материала. Изобретение обеспечивает улучшение эксплуатационных характеристик. 3 н. и 16 з.п. ф-лы, 5 ил.

Дирекция сайта "Промышленная Сибирь"
Россия, г.Омск, ул.Учебная, 199-Б, к.408А
Сайт открыт 01.11.2000
© 2000-2018 Промышленная Сибирь
Разработка дизайна сайта:
Дизайн-студия "RayStudio"