Промышленная Сибирь Ярмарка Сибири Промышленность СФО Электронные торги НОУ-ХАУ Электронные магазины Карта сайта
 
 

Поиск патентов

Как искать?
Реферат
Название
Публикация
Регистрационный номер
Имя заявителя
Имя изобретателя
Имя патентообладателя

    





Оформить заказ и задать интересующие Вас вопросы Вы можете напрямую c 6-00 до 14-30 по московскому времени кроме сб, вс. whatsapp 8-950-950-9888

На данной странице представлена ознакомительная часть выбранного Вами патента

Для получения более подробной информации о патенте (полное описание, формула изобретения и т.д.) Вам необходимо сделать заказ. Нажмите на «Корзину»


ГРУЗОЗАХВАТНОЕ УСТРОЙСТВО

Номер публикации патента: 2453491

Вид документа: C1 
Страна публикации: RU 
Рег. номер заявки: 2010147243/11 
  Сделать заказПолучить полное описание патента

Редакция МПК: 
Основные коды МПК: B66C001/28   B66C001/42    
Аналоги изобретения: SU 1237604 A1, 15.06.1986. SU 237361 A1, 24.06.1969. SU 632636 A1, 15.11.1978. CN 201121093 Y, 24.09.2008. 

Имя заявителя: Павлов Александр Игоревич (RU) 
Изобретатели: Павлов Александр Игоревич (RU) 
Патентообладатели: Павлов Александр Игоревич (RU) 

Реферат


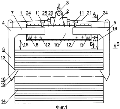
Грузозахватное устройство содержит корпус (1) со сцепным элементом (2) для соединения с грузоподъемным механизмом (3), грузозахватные рычаги (4) и (5), прикрепленные к корпусу шарнирами (8) и (9), и ограничители (11) поворота грузозахватных рычагов (4) и (5). Расстояние между центрами (15) и (16) тяжести грузозахватных рычагов (4) и (5) больше расстояния между шарнирами (8) и (9). На корпусе (1) установлен электропривод (20) для расцепления грузозахватных рычагов (4) и (5) с грузом (14) после транспортировки. Электропривод (20) кинематически соединен с грузозахватными рычагами (4) и (5) канатом (24), уменьшающим длину при скручивании, и соединен с пультом управления (22) и источником электроэнергии (23). Грузозахватное устройство регулируют перемещением ограничителей (11) и перестановкой шарниров (8) и (9) в отверстиях (12) в зависимости от габаритных размеров груза (14). Достигается расширение функциональных возможностей грузозахватного устройства при обеспечении конструктивной простоты и повышении удобства эксплуатации. 6 з.п. ф-лы, 5 ил.

Дирекция сайта "Промышленная Сибирь"
Россия, г.Омск, ул.Учебная, 199-Б, к.408А
Сайт открыт 01.11.2000
© 2000-2018 Промышленная Сибирь
Разработка дизайна сайта:
Дизайн-студия "RayStudio"