Промышленная Сибирь Ярмарка Сибири Промышленность СФО Электронные торги НОУ-ХАУ Электронные магазины Карта сайта
 
 

Поиск патентов

Как искать?
Реферат
Название
Публикация
Регистрационный номер
Имя заявителя
Имя изобретателя
Имя патентообладателя

    





Оформить заказ и задать интересующие Вас вопросы Вы можете напрямую c 6-00 до 14-30 по московскому времени кроме сб, вс. whatsapp 8-950-950-9888

На данной странице представлена ознакомительная часть выбранного Вами патента

Для получения более подробной информации о патенте (полное описание, формула изобретения и т.д.) Вам необходимо сделать заказ. Нажмите на «Корзину»


ПОРОГ С ЗАКРЫТОЙ НАПРАВЛЯЮЩЕЙ

Номер публикации патента: 2395445

Вид документа: C2 
Страна публикации: RU 
Рег. номер заявки: 2008108209/11 
  Сделать заказПолучить полное описание патента

Редакция МПК: 
Основные коды МПК: B66B013/08   B66B013/30    
Аналоги изобретения: JP 2004217392 А, 05.08.2004. JP 5310391 A, 22.11.1993. JP 1029783 А, 03.02.1998. ЕР 1445410 А1, 11.08.2004. SU 732196 А, 08.05.1980. 

Имя заявителя: Виттур Холдинг ГМБХ (DE) 
Изобретатели: ХИЗАЛ Эрджюмент (TR)
ЭРБИРЕР Ахмет Нежат (TR)
АУЙА Метин (TR) 
Патентообладатели: Виттур Холдинг ГМБХ (DE) 
Приоритетные данные: 23.03.2007 EP 07006003.3 

Реферат


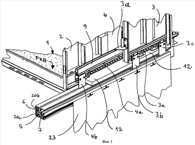
Изобретение относится к системе лифтовых дверей для дверей кабины или шахты и дверному порогу. Упомянутая система включает дверь, состоящую, по меньшей мере, из двух дверных панелей, подвешенных с возможностью скольжения за верхнюю часть и способных телескопически перемещаться относительно друг друга. Нижние концы дверных панелей направляет закрытая направляющая, установленная на дверном пороге. В дверном пороге выполнено множество независимых друг от друга направляющих пазов. Согласно изобретению один направляющий паз открыт только в направлении шахты и направляет нижний конец более быстрой дверной панели, а другой направляющий паз открыт в направлении пола этажа или кабины и направляет нижний конец более медленной дверной панели. Этот другой направляющий паз (6) открыт только в направлении пола этажа или кабины (FKB) в области, закрытой дверными створками (3, 4) как при закрытой, так и открытой двери. При этом исключена опасность того, что в открытый вверх направляющий паз с пола этажа или кабины попадут посторонние предметы и тем самым помешают направляющему действию. Изобретение обеспечивает повышение удобства эксплуатации системы дверей и дверного порога. 2 н. и 21 з.п. ф-лы, 15 ил.

Дирекция сайта "Промышленная Сибирь"
Россия, г.Омск, ул.Учебная, 199-Б, к.408А
Сайт открыт 01.11.2000
© 2000-2018 Промышленная Сибирь
Разработка дизайна сайта:
Дизайн-студия "RayStudio"