|
На данной странице представлена ознакомительная часть выбранного Вами патента
Для получения более подробной информации о патенте (полное описание, формула изобретения и т.д.) Вам необходимо сделать заказ. Нажмите на «Корзину»
| ТРАНСПОРТИРУЮЩЕЕ УСТРОЙСТВО |  |
Номер публикации патента: 2172289 |  |
| Редакция МПК: | 7 | | Основные коды МПК: | B65H029/58 | | Аналоги изобретения: | FR 2338202 A, 19.09.1977. EP 0478911 A1, 08.04.1992. EP 0578614 A1, 12.01.1994. FR 2334591 A, 08.07.1977. SU 740151 A, 05.06.1980. |
| Имя заявителя: | КЕНИГ УНД БАУЭР АГ (DE) | | Изобретатели: | РАТЦ Хольгер (DE) ШТЭБ Рудольф (DE) | | Патентообладатели: | КЕНИГ УНД БАУЭР АГ (DE) | | Номер конвенционной заявки: | 19642126.8 | | Страна приоритета: | DE | | Патентный поверенный: | Квашнин Валерий Павлович |
Реферат |  |
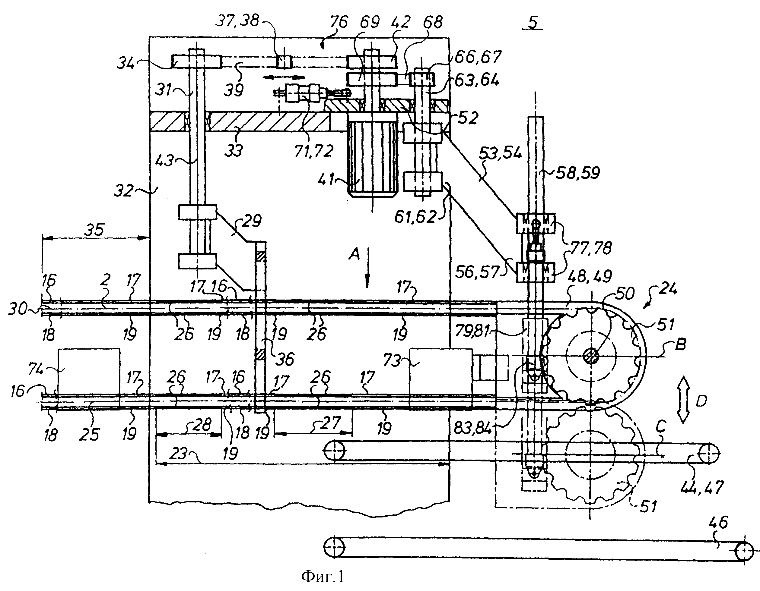
Изобретение относится к транспортирующему устройству, содержащему направляемую в жесткой направляющей бесконечную транспортирующую цепь для продукта печати от фальцевального, соответственно отрезного, аппарата и расположенное вблизи фальцевального, соответственного отрезного, аппарата, соответственно удаленное от фальцевального, соответственно отрезного, аппарата поворотное приспособление для транспортирующей цепи, причем поворотное приспособление установлено с возможностью горизонтального перемещения из первой во вторую позицию, при этом направляющая в зоне удаленного от фальцевального, соответственно отрезного, аппарата поворотного приспособления установлена с возможностью параллельного перемещения в первой и второй позициях поворотного приспособления. Данная конструкция позволяет обеспечить возможность направлять транспортируемые продукты печати выборочно в различные места назначения. 2 с. и 8 з.п. ф-лы, 3 ил.
|