Промышленная Сибирь Ярмарка Сибири Промышленность СФО Электронные торги НОУ-ХАУ Электронные магазины Карта сайта
 
 

Поиск патентов

Как искать?
Реферат
Название
Публикация
Регистрационный номер
Имя заявителя
Имя изобретателя
Имя патентообладателя

    





Оформить заказ и задать интересующие Вас вопросы Вы можете напрямую c 6-00 до 14-30 по московскому времени кроме сб, вс. whatsapp 8-950-950-9888

На данной странице представлена ознакомительная часть выбранного Вами патента

Для получения более подробной информации о патенте (полное описание, формула изобретения и т.д.) Вам необходимо сделать заказ. Нажмите на «Корзину»


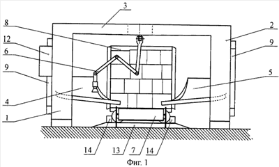
УСТРОЙСТВО ВЫГРУЗКИ ШТУЧНЫХ ГРУЗОВ ИЗ КОНТЕЙНЕРА

Номер публикации патента: 2448029

Вид документа: C1 
Страна публикации: RU 
Рег. номер заявки: 2010138867/11 
  Сделать заказПолучить полное описание патента

Редакция МПК: 
Основные коды МПК: B65G065/00   B65G059/02    
Аналоги изобретения: US 5007785 A, 16.04.1991. SU 819021 A, 07.04.1981. SU 1640080 A1, 07.04.1991. US 4281955 A, 04.08.1981. US 5015145 A, 14.05.1991. 

Имя заявителя: Барсук Игорь Вадимович (RU) 
Изобретатели: Барсук Игорь Вадимович (RU) 
Патентообладатели: Барсук Игорь Вадимович (RU) 

Реферат


Изобретение относится к области почтовой связи, складского хозяйства и может быть использовано при автоматизации выгрузки грузов, по форме близких к параллелепипеду. Устройство выгрузки штучных грузов из контейнера состоит из вертикальной станины, к вертикальным частям (1) и (2) которой с внутренних сторон неподвижно крепятся симметрично друг другу левый (4) и правый (5) винтовые спуски с шириной поверхности большей диагонали в плане груза с максимально допустимыми размерами в плане. Посередине внутренней стороны горизонтальной части (3) станины к ней крепится робот-манипулятор (6), осуществляющий поиск и захват груза в контейнере (8), перемещение его по оптимальной траектории и сброс или на поверхность одного из спусков (4, 5) или на отводящий транспортер (7). Плоскость симметрии отводящего транспортера перпендикулярна плоскости станины, в которой лежат вертикальные и горизонтальная ее части. Устройство содержит также систему управления, которая определяет начало и завершение работы, осуществляет поиск груза в контейнере, передачу и обработку информации. Технический результат - повышение производительности устройства выгрузки штучных грузов из контейнера на отводящий транспортер при обеспечении гарантированного интервала между выгружаемыми грузами. 5 з.п. ф-лы, 8 ил.

Дирекция сайта "Промышленная Сибирь"
Россия, г.Омск, ул.Учебная, 199-Б, к.408А
Сайт открыт 01.11.2000
© 2000-2018 Промышленная Сибирь
Разработка дизайна сайта:
Дизайн-студия "RayStudio"