|
На данной странице представлена ознакомительная часть выбранного Вами патента
Для получения более подробной информации о патенте (полное описание, формула изобретения и т.д.) Вам необходимо сделать заказ. Нажмите на «Корзину»
| ВИБРОБУНКЕР |  |
Номер публикации патента: 2173662 |  |
| Редакция МПК: | 7 | | Основные коды МПК: | B65G027/02 | | Аналоги изобретения: | RU 2103210 C1, 27.01.1998. SU 372138 A, 08.05.1973. SU 215789 A, 01.07.1968. SU 618319 A, 21.06.1978. SU 861207 A, 07.09.1981. SU 1052452 A, 07.11.1983. RU 2009092 C1, 15.03.1994. |
| Имя заявителя: | Волгоградский государственный технический университет | | Изобретатели: | Кристаль М.Г. Широкий А.В. Шостенко С.В. Еремеев В.В. | | Патентообладатели: | Волгоградский государственный технический университет |
Реферат |  |
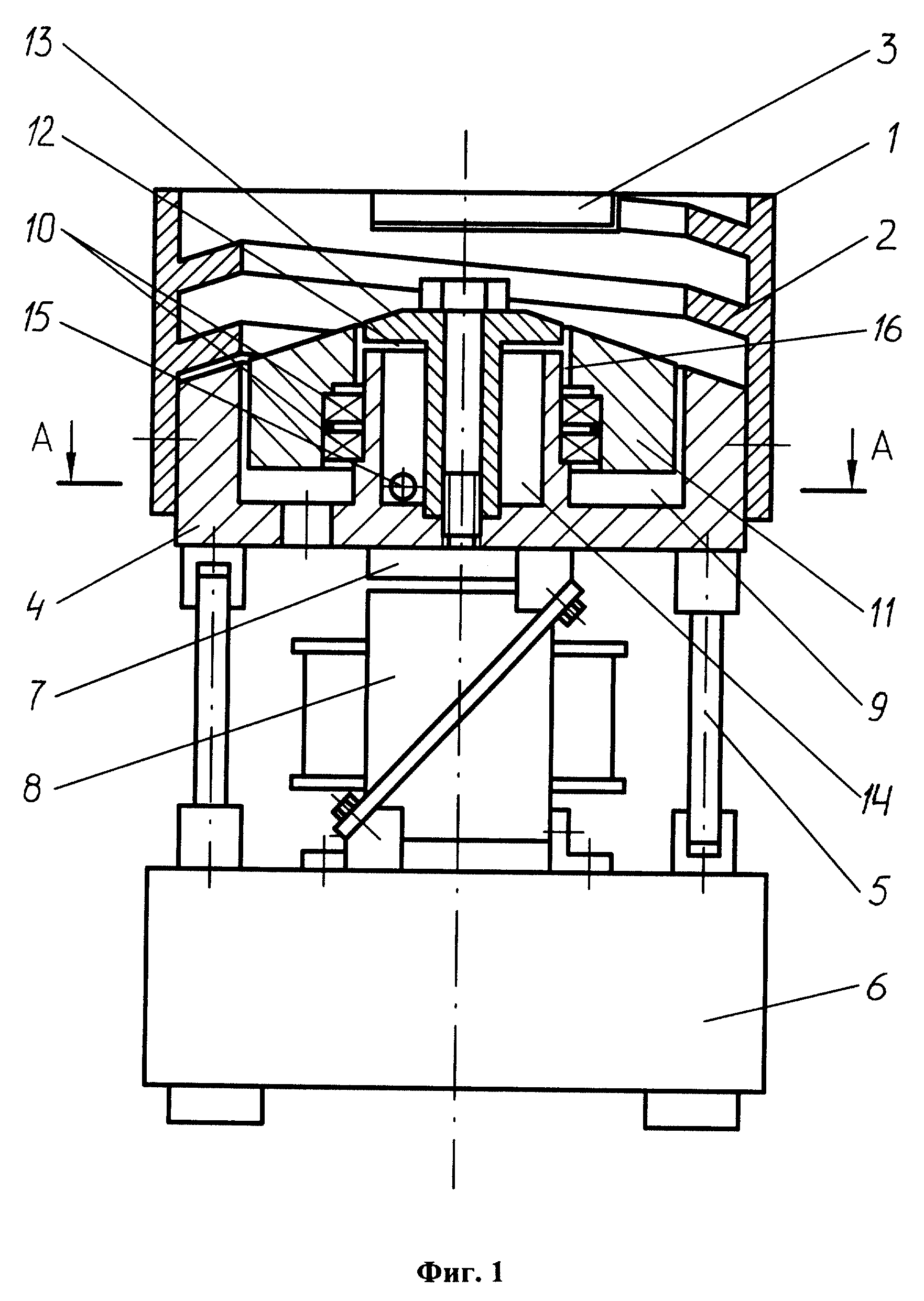
Изобретение относится к автоматизации производственных процессов по загрузке деталей в рабочую зону технологических машин. Вибробункер содержит чашу со спиральным лотком и выходным лотком, которая установлена посредством пружинных стержней на основании, и вибропривод, соединенный через основание с чашей вибробункера. В чаше вибробункера установлен корпус тарельчатого типа, в кольцевом пазу которого установлена втулка с возможностью вращения относительно центральной оси корпуса. В центральной части корпуса выполнен цилиндрический стакан, по торцевой поверхности которого установлена с плоским зазором корпусная крышка, образующая кольцевую камеру нагнетания. А донная часть чаши вибробункера образована по конической поверхности втулки и наружной поверхности корпусной крышки. Сжатый воздух поступает в кольцевую камеру нагнетания через тангенциально направленное входное отверстие. В кольцевом зазоре посредством трения воздушного потока о наружную поверхность втулки обеспечивается ее вращение с окружной скоростью, большей скорости вибрационного транспортирования деталей спиральным лотком. Техническим результатом данного устройства является создание конструкции вибробункера с новой схемой подачи деталей в зону захвата спирального лотка под действием вибрации донной части чаши вибробункера при одновременном круговом вращении втулки, что обеспечивает интенсификацию процесса первичной ориентации деталей и повышает производительность вибробункера в целом. 3 ил.
|