|
На данной странице представлена ознакомительная часть выбранного Вами патента
Для получения более подробной информации о патенте (полное описание, формула изобретения и т.д.) Вам необходимо сделать заказ. Нажмите на «Корзину»
| УСТРОЙСТВО ДЛЯ ВИБРАЦИОННОГО ТРАНСПОРТИРОВАНИЯ |  |
Номер публикации патента: 2166470 |  |
| Редакция МПК: | 7 | | Основные коды МПК: | B65G027/08 | | Аналоги изобретения: | SU 994362 А, 09.02.1983. SU 848439 А, 25.07.1981. SU 889565 А, 25.12.1981. US 5853082 А, 29.12.1998. US 5713457 А, 03.02.1998. DE 1255034 А, 23.11.1967. |
| Имя заявителя: | Ульяновский государственный технический университет | | Изобретатели: | Белый Д.М. | | Патентообладатели: | Ульяновский государственный технический университет |
Реферат |  |
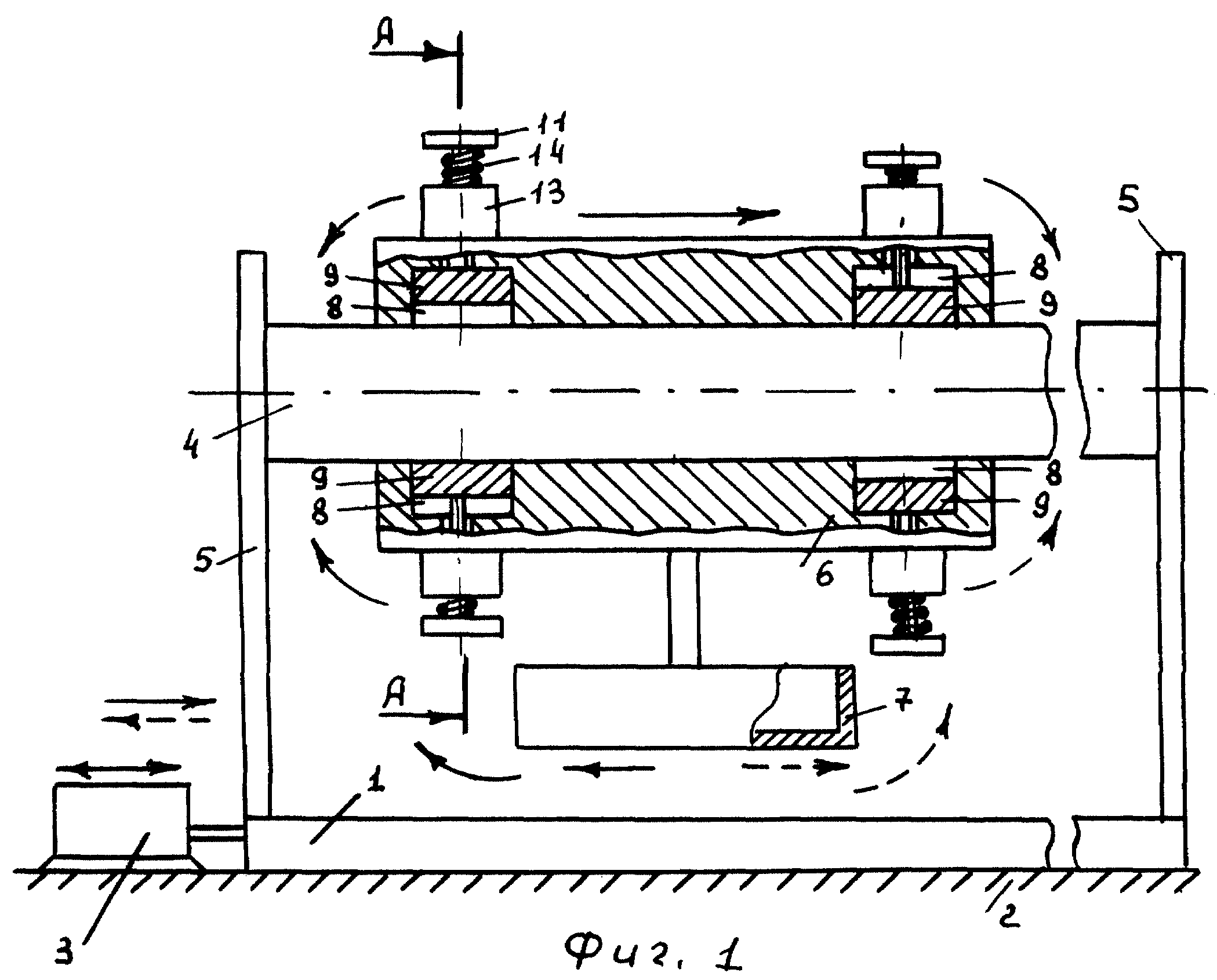
Изобретение относится к подъемно-транспортному машиностроению, а именно к вибрационному транспортированию сыпучей массы, строительных и химических материалов. Устройство включает горизонтальное основание, связанное с возбудителем низкочастотных гармонических колебаний в плоскости транспортирования, направляющую продольную балку, установленную вдоль направления транспортирования на двух вертикальных стойках, и грузонесущий орган. Направляющая продольная балка имеет круглое поперечное сечение, а грузонесущий орган выполнен в виде втулки, надетой на балку с возможностью свободного перемещения вдоль балки и снабженной грузонесущей емкостью, прикрепленной к внешней поверхности втулки в средней ее части. С обоих краев втулки на ее внутренней поверхности и в одной диаметральной плоскости с грузонесущей емкостью выполнены прямоугольные углубления, расположенные попарно напротив друг друга, в которых свободно размещены колодки трения в виде криволинейных пластин с радиусом кривизны, соответствующим радиусу поперечного сечения продольной балки, имеющие возможность радиального смещения относительно балки с установкой в фиксированных положениях. Снижаются энергозатраты. 2 ил.
|