Промышленная Сибирь Ярмарка Сибири Промышленность СФО Электронные торги НОУ-ХАУ Электронные магазины Карта сайта
 
 

Поиск патентов

Как искать?
Реферат
Название
Публикация
Регистрационный номер
Имя заявителя
Имя изобретателя
Имя патентообладателя

    





Оформить заказ и задать интересующие Вас вопросы Вы можете напрямую c 6-00 до 14-30 по московскому времени кроме сб, вс. whatsapp 8-950-950-9888

На данной странице представлена ознакомительная часть выбранного Вами патента

Для получения более подробной информации о патенте (полное описание, формула изобретения и т.д.) Вам необходимо сделать заказ. Нажмите на «Корзину»


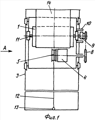
НАТЯЖНОЕ УСТРОЙСТВО ЛЕНТОЧНОГО КОНВЕЙЕРА

Номер публикации патента: 2458842

Вид документа: C1 
Страна публикации: RU 
Рег. номер заявки: 2011113786/11 
  Сделать заказПолучить полное описание патента

Редакция МПК: 
Основные коды МПК: B65G023/44    
Аналоги изобретения: RU 2214355 С1, 20.10.2003. RU 2054372 С1, 20.02.1996. SU 1808793 А1, 15.04.1993. SU 1606403 А1, 15.11.1990. CN 201770272 U, 23.03.2011. DE 3512594 С, 18.09.1986. 

Имя заявителя: Государственное образовательное учреждение высшего профессионального образования "Санкт-Петербургский государственный горный институт имени Г.В. Плеханова (технический университет)" (RU) 
Изобретатели: Тарасов Юрий Дмитриевич (RU) 
Патентообладатели: Государственное образовательное учреждение высшего профессионального образования "Санкт-Петербургский государственный горный институт имени Г.В. Плеханова (технический университет)" (RU) 

Реферат


Натяжное устройство ленточного конвейера содержит натяжной барабан (1), установленный на тележке (2) с возможностью ее перемещения по направляющим рамы (3). Привод натяжного устройства состоит из редуктора (4) вертикального типа с бобиной (5) на тихоходном валу и тормозом (6) на быстроходном валу. Редуктор установлен на тележке (2) натяжного барабана с зазором (7) относительно него. Редуктор с помощью цепной передачи (8) и муфты (9) предельного момента с управляемым электромагнитом (10), закрепленным на тележке, кинематически связан с осью (11) натяжного барабана. На бобине закреплен конец стального проволочного каната (12), а его свободный конец (13) закреплен в хвостовой части рамы. Бобина со стальным проволочным канатом размещены по продольной оси (14) конвейера. Величина крутящего момента, передаваемого упомянутой муфтой, определяется из соотношения: Мкр=0,5TD/(ip iцп), где Мкр - реализуемый муфтой максимальный крутящий момент, Нм; Т - расчетное значение тормозного усилия, развиваемого натяжным барабаном, Н; D - средний диаметр навивки тягового каната на бобину, м; ip - передаточное отношение редуктора; iцп - передаточное отношение цепной передачи; - суммарное значение КПД редуктора и цепной передачи. Уменьшаются размеры рабочей зоны в хвостовой части конвейера, упрощается конструкция привода перемещения барабана натяжного устройства ленточного конвейера. 2 ил.

Дирекция сайта "Промышленная Сибирь"
Россия, г.Омск, ул.Учебная, 199-Б, к.408А
Сайт открыт 01.11.2000
© 2000-2018 Промышленная Сибирь
Разработка дизайна сайта:
Дизайн-студия "RayStudio"