|
На данной странице представлена ознакомительная часть выбранного Вами патента
Для получения более подробной информации о патенте (полное описание, формула изобретения и т.д.) Вам необходимо сделать заказ. Нажмите на «Корзину»
| РАБОЧИЙ ОРГАН ТРУБЧАТОГО КОНВЕЙЕРА |  |
Номер публикации патента: 2172288 |  |
| Редакция МПК: | 7 | | Основные коды МПК: | B65G019/14 B65G019/24 | | Аналоги изобретения: | ИЗРАЙЛЕВИЧ М.Л. и др. Конвейеры с погруженными скребками. - М.: Машиностроение, 1970, с.91-94. RU 2130887 С1, 27.05.1999. US 4197938 A, 15.04.1980. WO 00/15523 Al, 23.03.2000. DE 19547689 Al, 03.07.1997. ПЛАВИНСКИЙ В.И. Машины непрерывного транспорта. - М.: Машиностроение, 1969, с.140-142, рис.64. СПИВАКОВСКИЙ А.О. и др. Транспортирующие машины, - М.: Машиностроение, 1968, с. 189-190. |
| Имя заявителя: | ОАО "Санкт-Петербургский институт огнеупоров" | | Изобретатели: | Лабковский Б.А. Рабинович А.И. Браун Н.И. Власов В.В. Смирнов Г.Н. Калинин П.А. Бердяев В.Н. | | Патентообладатели: | ОАО "Санкт-Петербургский институт огнеупоров" |
Реферат |  |
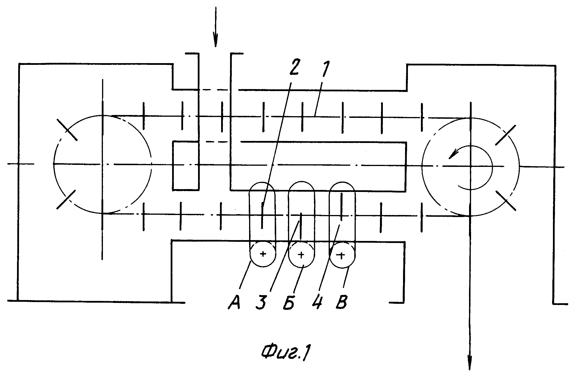
Изобретение относится к конвейерному машиностроению и предназначено для транспортирования сыпучих материалов. Рабочий орган трубчатого конвейера содержит замкнутую тяговую цепь, на вертикальных звеньях которой закреплены транспортирующие скребки, одни из которых установлены с возможностью зачистки стенки трубы конвейера. По меньшей мере, одна пара зачистных скребков закреплена эксцентрично относительно оси вертикальных звеньев тяговой цепи. Эксцентриситеты каждой пары зачистных скребков взаимно противоположны. Изобретение направлено на улучшение зачистки трубы при уменьшении опасности заклинивания рабочего органа и его удешевления. 7 ил.
|