Промышленная Сибирь Ярмарка Сибири Промышленность СФО Электронные торги НОУ-ХАУ Электронные магазины Карта сайта
 
 

Поиск патентов

Как искать?
Реферат
Название
Публикация
Регистрационный номер
Имя заявителя
Имя изобретателя
Имя патентообладателя

    





Оформить заказ и задать интересующие Вас вопросы Вы можете напрямую c 6-00 до 14-30 по московскому времени кроме сб, вс. whatsapp 8-950-950-9888

На данной странице представлена ознакомительная часть выбранного Вами патента

Для получения более подробной информации о патенте (полное описание, формула изобретения и т.д.) Вам необходимо сделать заказ. Нажмите на «Корзину»


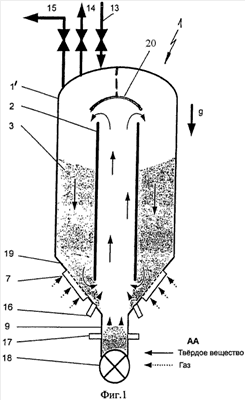
СПОСОБ И УСТРОЙСТВО ДЛЯ ПРИЕМА И ПЕРЕДАЧИ ОТ МЕЛКО - ДО КРУПНОЗЕРНИСТЫХ ТВЕРДЫХ ВЕЩЕСТВ ИЗ БУНКЕРА В СИСТЕМУ ПОВЫШЕННОГО ДАВЛЕНИЯ

Номер публикации патента: 2469939

Вид документа: C2 
Страна публикации: RU 
Рег. номер заявки: 2010137001/12 
  Сделать заказПолучить полное описание патента

Редакция МПК: 
Основные коды МПК: B65D088/28   B65D088/70    
Аналоги изобретения: WO 2004/085578 А, 07.10.2004. SU 1674945 A1, 07.09.1991. DE 3208499 A1, 10.03.1983. US 3647188 A, 07.03.1972. 

Имя заявителя: ТиссенКрупп Уде ГмбХ (DE) 
Изобретатели: ХАМЕЛЬ Штефан (DE)
КОВОЛЛЬ Иоганнес (DE)
КУСКЕ Эберхард (DE) 
Патентообладатели: ТиссенКрупп Уде ГмбХ (DE) 
Приоритетные данные: 09.02.2008 DE 102008008419.0 

Реферат


Изобретение относится к устройству и способу для приема и передачи от мелкозернистых до крупнозернистых твердых веществ из бункера в систему повышенного давления через запорный элемент, при недопущении сжатия сыпучего материала, при надежном обеспечении транспортировки твердых веществ также в случае тяжелых сыпучих веществ, а также высокой универсальности при использовании различных сыпучих веществ во время эксплуатации и по возможности большем массовом потоке к приемному бункеру. В устройстве внутри бункера (1') на расстоянии в направлении (g) действия силы тяжести над запорным элементом (18) предусмотрены по меньшей мере одно вертикально ориентированное, открытое вверху и внизу, центральное трубообразное тело (2) - центральная труба, а также подающие газ ко дну (19) бункера и/или центральной трубе (2) устройства (4, 7) подачи газа для формирования потока твердого вещества в центральной трубе. Изобретение обеспечивает надежную транспортировку твердых веществ, в том числе тяжелых сыпучих веществ, в большом массовом потоке, без их сжатия. 2 н. и 13 з.п. ф-лы, 4 ил.

Дирекция сайта "Промышленная Сибирь"
Россия, г.Омск, ул.Учебная, 199-Б, к.408А
Сайт открыт 01.11.2000
© 2000-2018 Промышленная Сибирь
Разработка дизайна сайта:
Дизайн-студия "RayStudio"