Промышленная Сибирь Ярмарка Сибири Промышленность СФО Электронные торги НОУ-ХАУ Электронные магазины Карта сайта
 
 

Поиск патентов

Как искать?
Реферат
Название
Публикация
Регистрационный номер
Имя заявителя
Имя изобретателя
Имя патентообладателя

    





Оформить заказ и задать интересующие Вас вопросы Вы можете напрямую c 6-00 до 14-30 по московскому времени кроме сб, вс. whatsapp 8-950-950-9888

На данной странице представлена ознакомительная часть выбранного Вами патента

Для получения более подробной информации о патенте (полное описание, формула изобретения и т.д.) Вам необходимо сделать заказ. Нажмите на «Корзину»


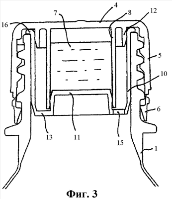
УКУПОРОЧНЫЙ УЗЕЛ ДЛЯ ЕМКОСТИ

Номер публикации патента: 2397932

Вид документа: C2 
Страна публикации: RU 
Рег. номер заявки: 2008109245/12 
  Сделать заказПолучить полное описание патента

Редакция МПК: 
Основные коды МПК: B65D025/08   B65D051/28    
Аналоги изобретения: US 2004/0200741 A1, 14.10.2004. EP 1477421 A, 17.11.2004. US 6279779 B1, 28.08.2001. JP 2005088997 A, 07.04.2005. DE 29820062 U1, 25.02.1999. 

Имя заявителя: ОБРИСТ КЛОУЖЕРЗ СВИТЗЕРЛАНД ГМБХ (CH) 
Изобретатели: РЭМСИ Кристофер Пол (GB)
БОДНАР Кати (GB) 
Патентообладатели: ОБРИСТ КЛОУЖЕРЗ СВИТЗЕРЛАНД ГМБХ (CH) 
Приоритетные данные: 12.08.2005 EP 05255021.7 

Реферат


Изобретение относится к укупорочным узлам для емкостей. Укупорочный узел имеет укупоривающую крышку, выполненную с возможностью установки на горлышке емкости (1) для закрытия емкости. Крышка имеет верхнюю стенку (4) и отходящую от нее цилиндрическую юбку (5). На нижней стороне верхней стенки (4) внутри юбки образован резервуар (7), имеющий разливное отверстие. В укупоривающий крышку установлен герметизирующий элемент для закрытия разливного отверстия в резервуаре (7). Резервуар (7) образован цилиндрической стенкой (8), выступающей вниз из нижней стороны верхней стенки (4) крышки. Вторая цилиндрическая стенка (12) выступает вниз из нижней стороны укупоривающей крышки по радиусу снаружи резервуара (7) для герметичной установки в герметизирующий элемент. Когда узел установлен на контейнер, герметизирующий элемент установлен в горлышко емкости по посадке с натягом так, что при снятии укупоривающей крышки с емкости, герметизирующий элемент остается внутри горлышка емкости и отделен от укупоривающей крышки так, что разливное отверстие открыто, и вещество, содержащееся внутри резервуара, попадает в емкость. Техническим результатом изобретения является создание укупорочного узла, в котором не потребуется модификация технологии производства стандартных бутылок, и в котором профиль крышки таков, что его можно использовать на не модифицированных линиях заполнения емкостей. 5 з.п. ф-лы, 8 ил.

Дирекция сайта "Промышленная Сибирь"
Россия, г.Омск, ул.Учебная, 199-Б, к.408А
Сайт открыт 01.11.2000
© 2000-2018 Промышленная Сибирь
Разработка дизайна сайта:
Дизайн-студия "RayStudio"