Промышленная Сибирь Ярмарка Сибири Промышленность СФО Электронные торги НОУ-ХАУ Электронные магазины Карта сайта
 
 

Поиск патентов

Как искать?
Реферат
Название
Публикация
Регистрационный номер
Имя заявителя
Имя изобретателя
Имя патентообладателя

    





Оформить заказ и задать интересующие Вас вопросы Вы можете напрямую c 6-00 до 14-30 по московскому времени кроме сб, вс. whatsapp 8-950-950-9888

На данной странице представлена ознакомительная часть выбранного Вами патента

Для получения более подробной информации о патенте (полное описание, формула изобретения и т.д.) Вам необходимо сделать заказ. Нажмите на «Корзину»


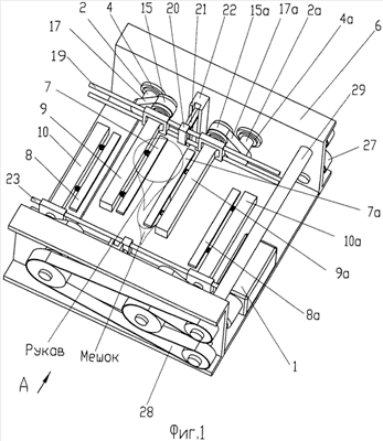
УСТРОЙСТВО ДЛЯ ИЗГОТОВЛЕНИЯ И ЗАПЕЧАТЫВАНИЯ МЕШКОВ ИЗ РУКАВА ТЕРМОСКЛЕИВАЮЩЕГОСЯ МАТЕРИАЛА

Номер публикации патента: 2393979

Вид документа: C1 
Страна публикации: RU 
Рег. номер заявки: 2009108194/11 
  Сделать заказПолучить полное описание патента

Редакция МПК: 
Основные коды МПК: B65B051/30    
Аналоги изобретения: ЕР 1008525 A1, 14.06.2000. US 5870887 A, 16.02.1999. WO 2007106916 A1, 20.09.2007. US 6050065 A, 18.04.2000. RU 2253599 C2, 10.06.2005. RU 2294868 C2, 10.03.2007. RU 2314236 C2, 10.01.2008. 

Имя заявителя: Закрытое акционерное общество "БЕСТРОМ" (RU) 
Изобретатели: Белицкий Борис Самуилович (RU)
Евсеев Борис Васильевич (RU)
Колышкин Константин Иванович (RU)
Соколова Вера Ивановна (RU)
Храпко Павел Иванович (RU)
Чичигин Алексей Сергеевич (RU) 
Патентообладатели: Закрытое акционерное общество "БЕСТРОМ" (RU) 

Реферат


Изобретение относится к области упаковки сыпучих материалов и может быть использовано в пищевой, химической и других отраслях промышленности. Устройство состоит из привода с приводными валами, двух пар инструментов, расположенных по обе стороны рукава и работающих попеременно. Пара инструментов в закрытом состоянии во время запечатывания движется синхронно с рукавом и установлена при помощи приспособлений для крепления инструментов консольно в головках рычагов. Рычаги соединены одним концом с приводными валами, а другим концом с приспособлениями для крепления инструментов и имеют форму коленчатого вала. Коленчатый вал, вращаясь, позволяет передвигаться инструментам по круговым траекториям. Приспособления для крепления инструментов в головках рычагов могут поворачиваться на валах с подшипниками. Приспособления для крепления инструментов соединены между собой сдвоенной направляющей с перемычкой, на которой установлен кронштейн. Кронштейн выполняет возвратно-поступательные движения по желобу, закрепленному на раме привода. Приспособления для крепления инструментов имеют возможность прямолинейно перемещаться по сдвоенной направляющей. Технический результат направлен на повышение надежности и долговечности работы устройства. 1 з.п. ф-лы, 6 ил.

Дирекция сайта "Промышленная Сибирь"
Россия, г.Омск, ул.Учебная, 199-Б, к.408А
Сайт открыт 01.11.2000
© 2000-2018 Промышленная Сибирь
Разработка дизайна сайта:
Дизайн-студия "RayStudio"