|
На данной странице представлена ознакомительная часть выбранного Вами патента
Для получения более подробной информации о патенте (полное описание, формула изобретения и т.д.) Вам необходимо сделать заказ. Нажмите на «Корзину»
| УСТРОЙСТВО ДЛЯ ПЕРЕМЕЩЕНИЯ ГРУЗОВ, ПРЕИМУЩЕСТВЕННО ЗА ПРЕДЕЛАМИ НАХОДЯЩЕГОСЯ НА ОРБИТЕ КОСМИЧЕСКОГО КОРАБЛЯ |  |
Номер публикации патента: 2167084 |  |
| Редакция МПК: | 7 | | Основные коды МПК: | B64G004/00 | | Аналоги изобретения: | DE 19525359 С1, 05.06.1996. US 5857648 A, 28.01.1997. US 5501114 A, 03.02.1994. |
| Имя заявителя: | Открытое акционерное общество "Ракетно-космическая корпорация "Энергия" им. С.П. Королева" | | Изобретатели: | Сыромятников В.С. Бобров Е.Г. Обманкин И.М. Тихонов В.И. Шапиро Л.Я. Агеев С.М. Цыганков О.С. Ульянов В.С. Темнов С.С. | | Патентообладатели: | Открытое акционерное общество "Ракетно-космическая корпорация "Энергия" им. С.П. Королева" |
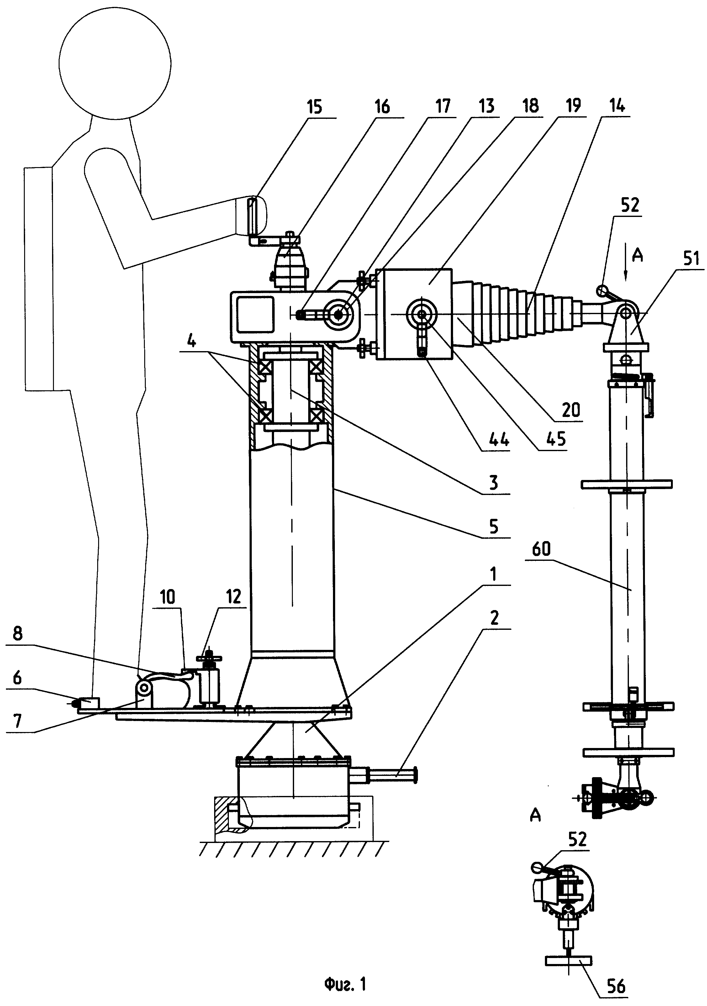
Реферат |  |
Изобретение относится к космической технике, а именно к средствам обеспечения внекорабельной деятельности оператора. Предлагаемое устройство содержит установочный замок, поворотную площадку с осью вращения, подвижно прикрепленную к поворотной площадке телескопическую балку с механизмами ее разворотов и удлинения, узлы крепления оператора и механизм крепления грузов, подвижно установленный на конце балки. Механизмы разворотов балки выполнены в виде узлов ручного управления и размещены на поворотной площадке в зоне, доступной рукам оператора. Механизм удлинения балки выполнен в виде системы тросов, размещенных внутри балки. Узлы крепления оператора расположены по другую сторону от узла крепления груза относительно оси вращения поворотной площадки. На механизме крепления грузов установлена телескопическая штанга, один конец которой закреплен на зажимном устройстве для грузов телескопической балки и оснащен механизмом стабилизации положения штанги. На другом конце штанги подвижно установлен дополнительный механизм крепления грузов. Изобретение обеспечивает выполнение работ с малоразмерными грузами, расположенными за крупногабаритными элементами конструкций, а также с грузами, расположенными ниже уровня установки устройства. 9 ил.
|