Промышленная Сибирь Ярмарка Сибири Промышленность СФО Электронные торги НОУ-ХАУ Электронные магазины Карта сайта
 
 

Поиск патентов

Как искать?
Реферат
Название
Публикация
Регистрационный номер
Имя заявителя
Имя изобретателя
Имя патентообладателя

    





Оформить заказ и задать интересующие Вас вопросы Вы можете напрямую c 6-00 до 14-30 по московскому времени кроме сб, вс. whatsapp 8-950-950-9888

На данной странице представлена ознакомительная часть выбранного Вами патента

Для получения более подробной информации о патенте (полное описание, формула изобретения и т.д.) Вам необходимо сделать заказ. Нажмите на «Корзину»


СИСТЕМА ПОВОРОТА СОЛНЕЧНОЙ БАТАРЕИ

Номер публикации патента: 2466069

Вид документа: C2 
Страна публикации: RU 
Рег. номер заявки: 2011104900/11 
  Сделать заказПолучить полное описание патента

Редакция МПК: 
Основные коды МПК: B64G001/44    
Аналоги изобретения: US 4076191 А, 28.02.1978. ЕР 0308631 А2, 29.03.1989. ЕР 0047694 А2, 17.03.1982. RU 2341421 С2, 20.12.2008. 

Имя заявителя: Открытое акционерное общество "Информационные спутниковые системы" имени академика М.Ф. Решетнёва" (RU) 
Изобретатели: Порпылев Владимир Григорьевич (RU)
Соколенко Владислав Андреевич (RU)
Леканов Анатолий Васильевич (RU)
Халиманович Владимир Иванович (RU) 
Патентообладатели: Открытое акционерное общество "Информационные спутниковые системы" имени академика М.Ф. Решетнёва" (RU) 

Реферат


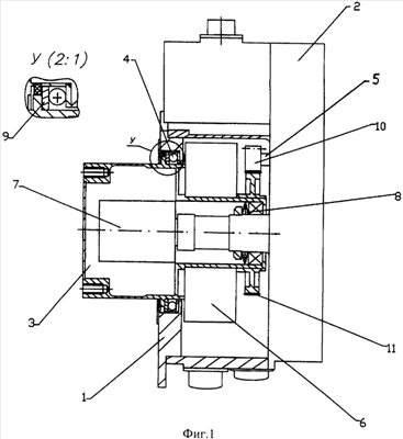
Система поворота солнечной батареи содержит корпус, полый вал с фланцем для стыковки солнечной батареи, привод для ее вращения, силовое и телеметрическое токосъемные устройства. Выходной вал функционально разделен на силовой фланец и вал с силовым токосъемным устройством. Телеметрическое токосъемное устройство установлено на своем валу и связано с выходным валом. Фланец выходного вала установлен в корпусе системы поворота солнечной батареи на опорном подшипнике с предварительным натягом или его поджатием через опорный подшипник к корпусу системы поворота солнечной батареи пружинами. Повышается надежность и снижаютса массы и габариты устройства. 1 з.п. ф-лы, 1 ил.

Дирекция сайта "Промышленная Сибирь"
Россия, г.Омск, ул.Учебная, 199-Б, к.408А
Сайт открыт 01.11.2000
© 2000-2018 Промышленная Сибирь
Разработка дизайна сайта:
Дизайн-студия "RayStudio"