Промышленная Сибирь Ярмарка Сибири Промышленность СФО Электронные торги НОУ-ХАУ Электронные магазины Карта сайта
 
 

Поиск патентов

Как искать?
Реферат
Название
Публикация
Регистрационный номер
Имя заявителя
Имя изобретателя
Имя патентообладателя

    





Оформить заказ и задать интересующие Вас вопросы Вы можете напрямую c 6-00 до 14-30 по московскому времени кроме сб, вс. whatsapp 8-950-950-9888

На данной странице представлена ознакомительная часть выбранного Вами патента

Для получения более подробной информации о патенте (полное описание, формула изобретения и т.д.) Вам необходимо сделать заказ. Нажмите на «Корзину»


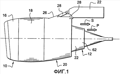
ИНТЕГРИРОВАННАЯ СИЛОВАЯ УСТАНОВКА С ПОДВЕСКОЙ ДЛЯ САМОЛЕТА

Номер публикации патента: 2440279

Вид документа: C2 
Страна публикации: RU 
Рег. номер заявки: 2007134894/11 
  Сделать заказПолучить полное описание патента

Редакция МПК: 
Основные коды МПК: B64D027/18    
Аналоги изобретения: US 2004245383 A1, 09.12.2004. ЕР 0884469 A, 16.12.1998. GB 2275308 A, 24.08.1994. FR 2873988 A, 10.02.2006. SU 1828025 A1, 10.11.1996. 

Имя заявителя: СНЕКМА (FR) 
Изобретатели: ГИБЕР Тибо Жан-Батист (FR)
ЛЕФОР Гийом (FR)
ТЕНЬЕР Марк Патрик (FR) 
Патентообладатели: СНЕКМА (FR) 
Приоритетные данные: 20.09.2006 FR 06/08216 

Реферат


Изобретения относятся к области авиации, более конкретно к силовой установке с подвеской для самолета и задней части гондолы силовой установки. Силовая установка содержит авиационный двухконтурный турбореактивный двигатель и гондолу, закрепленную на промежуточном картере и ограничивающую кольцевое пространство прохождения вторичного потока вокруг турбореактивного двигателя. Гондола содержит заднюю цилиндрическую часть, которая выполнена жесткой, и содержит на своем переднем конце кольцевой фланец крепления на 180° наружной окружности промежуточного картера, при этом цилиндрическая часть, поддерживающая и направляющая задний картер турбореактивного двигателя на заднем конце, содержит также средства крепления элементов подвески двигателя на части (22) самолета. Технический результат заключается в упрощении крепления авиационного двигателя и уменьшении размеров гондолы двигателя. 2 н. и 17 з.п. ф-лы, 7 ил.

Дирекция сайта "Промышленная Сибирь"
Россия, г.Омск, ул.Учебная, 199-Б, к.408А
Сайт открыт 01.11.2000
© 2000-2018 Промышленная Сибирь
Разработка дизайна сайта:
Дизайн-студия "RayStudio"