Промышленная Сибирь Ярмарка Сибири Промышленность СФО Электронные торги НОУ-ХАУ Электронные магазины Карта сайта
 
 

Поиск патентов

Как искать?
Реферат
Название
Публикация
Регистрационный номер
Имя заявителя
Имя изобретателя
Имя патентообладателя

    





Оформить заказ и задать интересующие Вас вопросы Вы можете напрямую c 6-00 до 14-30 по московскому времени кроме сб, вс. whatsapp 8-950-950-9888

На данной странице представлена ознакомительная часть выбранного Вами патента

Для получения более подробной информации о патенте (полное описание, формула изобретения и т.д.) Вам необходимо сделать заказ. Нажмите на «Корзину»


ПИЛОН ПОДВЕСКИ ТУРБОРЕАКТИВНОГО ДВИГАТЕЛЯ ДЛЯ ЛЕТАТЕЛЬНОГО АППАРАТА

Номер публикации патента: 2400401

Вид документа: C2 
Страна публикации: RU 
Рег. номер заявки: 2007147934/11 
  Сделать заказПолучить полное описание патента

Редакция МПК: 
Основные коды МПК: B64C027/18    
Аналоги изобретения: US 6126110 А, 03.10.2000. US 4266741 А, 12.01.1981. FR 2799432 А, 13.04.2001. US 3848832 А, 19.11.1974. SU 849694 A1, 20.09.1996. RU 93034156 A, 27.01.1997. 

Имя заявителя: ЭРБЮС ФРАНС (FR) 
Изобретатели: ДЬОШОН Лионель (FR)
САРРАТО Михаель (ES)
ШАРТЬЕ Давид (FR)
ПЕТРИСАН Изабель (FR) 
Патентообладатели: ЭРБЮС ФРАНС (FR) 
Приоритетные данные: 23.05.2005 FR 0551331 

Реферат


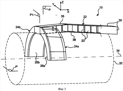
Изобретение относится к области авиации, более конкретно к пилону подвески турбореактивного двигателя для летательного аппарата. Пилон (4) подвески турбореактивного двигателя (2) включает жесткую конструкцию (10), содержащую центральный продольный кессон (22) и два боковых кессона (24а, 24b), закрепленных на передней части центрального кессона (22). Каждый из боковых кессонов содержит верхнюю оболочку (44а, 44b) и нижнюю оболочку (26а, 26b). Пилон содержит также первый (6а) и второй (6b) передние узлы подвески двигателя, спроектированные таким образом, чтобы воспринимать усилия, воздействующие в продольном направлении (X) пилона, причем передние узлы (6а, 6b) подвески двигателя выполнены соответственно на двух боковых кессонах (24а, 24b). Технический результат заключается в уменьшении лобового сопротивления и расхода топлива. 2 н. и 19 з.п. ф-лы, 8 ил.

Дирекция сайта "Промышленная Сибирь"
Россия, г.Омск, ул.Учебная, 199-Б, к.408А
Сайт открыт 01.11.2000
© 2000-2018 Промышленная Сибирь
Разработка дизайна сайта:
Дизайн-студия "RayStudio"