|
На данной странице представлена ознакомительная часть выбранного Вами патента
Для получения более подробной информации о патенте (полное описание, формула изобретения и т.д.) Вам необходимо сделать заказ. Нажмите на «Корзину»
| МЕХАНИЗМ УПРАВЛЕНИЯ ПОВОРОТОМ КОЛЕС ШАССИ ЛЕТАТЕЛЬНОГО АППАРАТА |  |
Номер публикации патента: 2167786 |  |
| Редакция МПК: | 7 | | Основные коды МПК: | B64C025/50 | | Аналоги изобретения: | FR 25689218, 30.01.1986. RU 2046062, 20.10.1995. SU 164530, 13.08.1964. GB 1294479, 25.10.1972. RU 94009883 А1,27.08.1996. |
| Имя заявителя: | Нижегородское открытое акционерное общество "Гидромаш" | | Изобретатели: | Азиков В.В. | | Патентообладатели: | Нижегородское открытое акционерное общество "Гидромаш" |
Реферат |  |
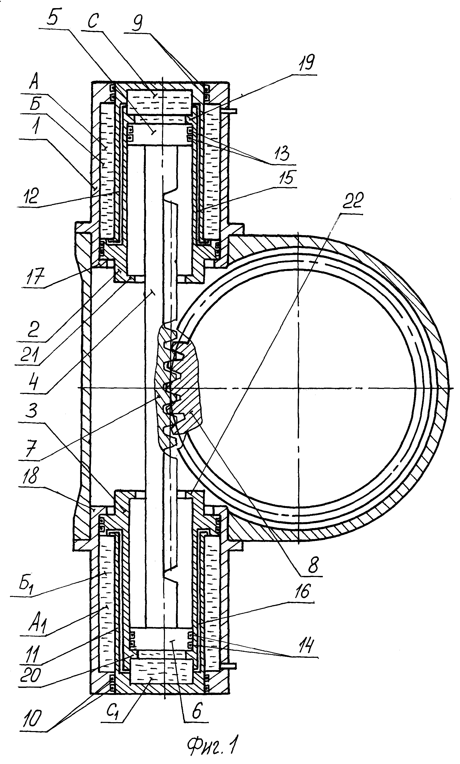
Изобретение относится к авиационной технике, а именно к летательным аппаратам. Технический результат изобретения - сокращение габаритов шасси в убранном положении. Механизм управления поворотом колес шасси летательного аппарата содержит гидравлический цилиндр двойного действия 1, внутри цилиндра установлены полые поршни 2, 3, образующие гидравлические полости А, А1, и шток 4, законцовки 5, 6 которого подвижно установлены внутри полых поршней 2, 3. Центральная часть штока 4 выполнена в виде зубчатой рейки 7, взаимодействующей с зубчатым сектором 8, закрепленным на валу колеса. Гидравлический цилиндр 1 снабжен торцевыми уплотняемыми отверстиями 9, 10. Полые поршни 2, 3 выполнены ступенчатыми, причем ступени меньшего диаметра 11, 12 установлены в торцевых отверстиях 9, 10 гидроцилиндра 1 и образуют кольцевые камеры Б, Б1, связанные с гидросистемой летательного аппарата. Законцовки 5, 6 штока 4 снабжены уплотнениями 13, 14 и образуют внутри полых поршней 2, 3 камеры С, С1, связанные с кольцевыми камерами Б, Б1 каналами 15, 16. 2 ил.
|